EasyManua.ls Logo

Sony A900 - Page 86

Sony A900
174 pages
Print Icon
To Next Page IconTo Next Page
To Next Page IconTo Next Page
To Previous Page IconTo Previous Page
To Previous Page IconTo Previous Page
Loading...
86
* _._ EV beneath / is the step currently selected and _ to the right of EV is
the number currently selected.
In the default setting, the camera shoots in the order 0 tt +. You
can change this order to – t 0 t +, with [Bracket order] in the
Custom menu (page 121).
Notes
When the mode dial is set to M, the exposure is shifted by adjusting the shutter
speed. If you shift the exposure by adjusting the aperture value, press and hold the
AEL button and shoot the image.
When you adjust the exposure, the exposure is shifted based on the compensated
value with bracket shooting.
When the flash is not used, ambient bracket shooting is performed and the shutter
speed and aperture are changed to accommodate bracket shooting. When the flash is
used, flash bracket shooting is performed and the flash light is changed.
In flash bracket shooting, single shot is automatically selected regardless of the
single/continuous setting. Press the shutter button shot by shot.
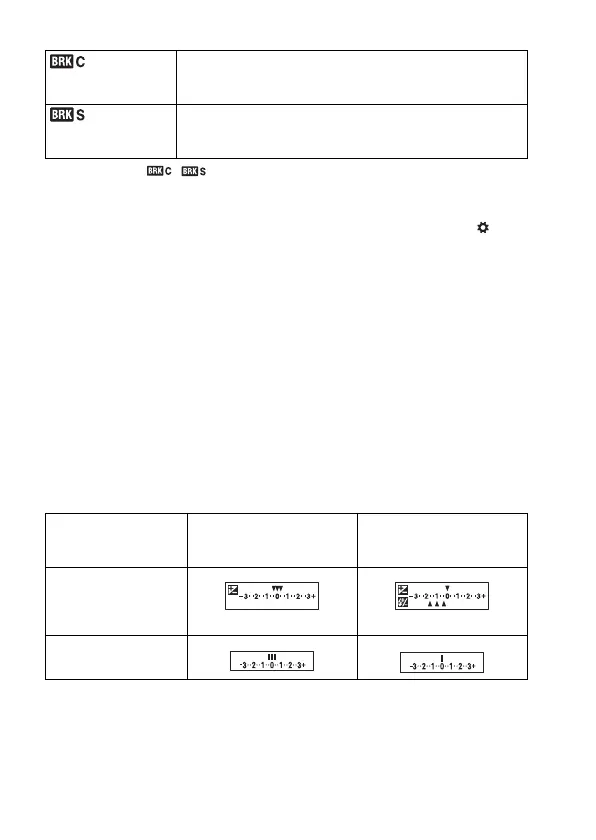
The example of the EV scale in bracket shooting
In ambient bracket shooting, the EV scale appears in the viewfinder, too,
but it does not appear in flash bracket shooting.
When the bracket shooting starts, the indexes that indicate already
recorded images start to disappear one by one.
* (Bracket:
Cont.)
Shoots three or five images with the exposure shifted by a
selected step.
Press and hold the shutter button until the recording stops.
* (Bracket:
Single)
Shoots three or five images with the exposure shifted by a
selected step.
Press the shutter button shot by shot.
Ambient bracket
0.3 steps, three shots
Exposure compensation 0
Flash bracket
0.7 steps, three shots
Flash compensation –1.0
LCD monitor
Shown in the top row.
Shown in the bottom row.
Viewfinder

Table of Contents

Related product manuals