EasyManua.ls Logo

Sony HCD-CP11 - Page 11

Sony HCD-CP11
57 pages
Print Icon
To Next Page IconTo Next Page
To Next Page IconTo Next Page
To Previous Page IconTo Previous Page
To Previous Page IconTo Previous Page
Loading...
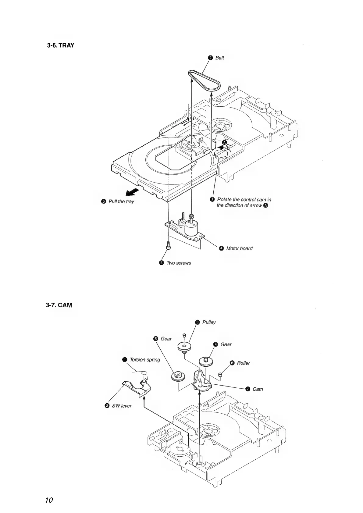
3-6.
TRAY
3
o
®
dK
aN
Aa
WON
the
direction
of
arrow
@
©
Rotate
the
control
cam
in
3-7.
CAM
ey
©
Pull
se
8
@
Roller
@)
é
yy
a
2
=
w
bcs)
10