EasyManua.ls Logo

Sony HCD-SHAKEX3 - Page 27

Sony HCD-SHAKEX3
96 pages
Print Icon
To Next Page IconTo Next Page
To Next Page IconTo Next Page
To Previous Page IconTo Previous Page
To Previous Page IconTo Previous Page
Loading...
HCD-SHAKEX1/SHAKEX3/SHAKEX7
27
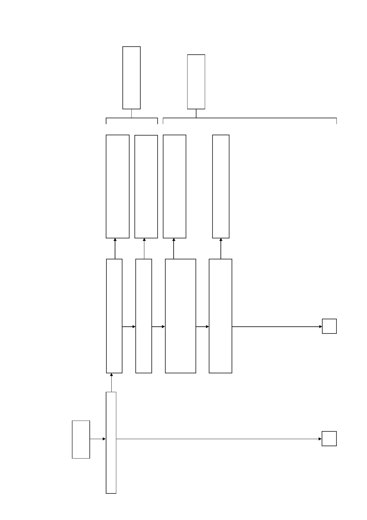
4CH DAMP / MOTHERBOARD Mount Diagnosis Flow (1/2)
PLAY MUSIC
Is there audio output from 4CH DAMP Board?
MOTHERBOARD Board
4CH DAMP Board
Checks 13V output of CN001 1pin(Main ON).
Is the power voltage OK?
Checks 3V output of CN001 8pin(Main ON).
Is the power voltage OK?
Checks +62.5V output of CN1001 10pin(+VH),
-62.5V output of CN1001 2pin(-VH) and -45.5V
output of CN1001 1pin -45.5V.
Is the power voltage OK?
Checks OUT terminal -50.5V output of REG IC1005.
Or, checks GND and OUT Terminal with Tester.
Is it shorted out?
Reinserts the cable or Exchanges.
If there are no problems, checks output of
Switching Regulator Board.
Reinserts the cable or Exchanges.
If there are no problems, checks output of
Main ON of MOTHERBOARD Board side.
Reinserts the cable or Exchanges.
If there are no problems, checks output of
Switching Regulator Board.
Checks circumference circuit of REG IC1005.
If there are no problems, exchanges IC1005.
A
B
Yes
Yes
Yes
Yes
Yes
No
Yes
No
No
No
No
Ver. 1.1

Table of Contents

Related product manuals