EasyManua.ls Logo

Sony SDM-X73 - Page 183

Sony SDM-X73
Print Icon
To Next Page IconTo Next Page
To Next Page IconTo Next Page
To Previous Page IconTo Previous Page
To Previous Page IconTo Previous Page
Loading...
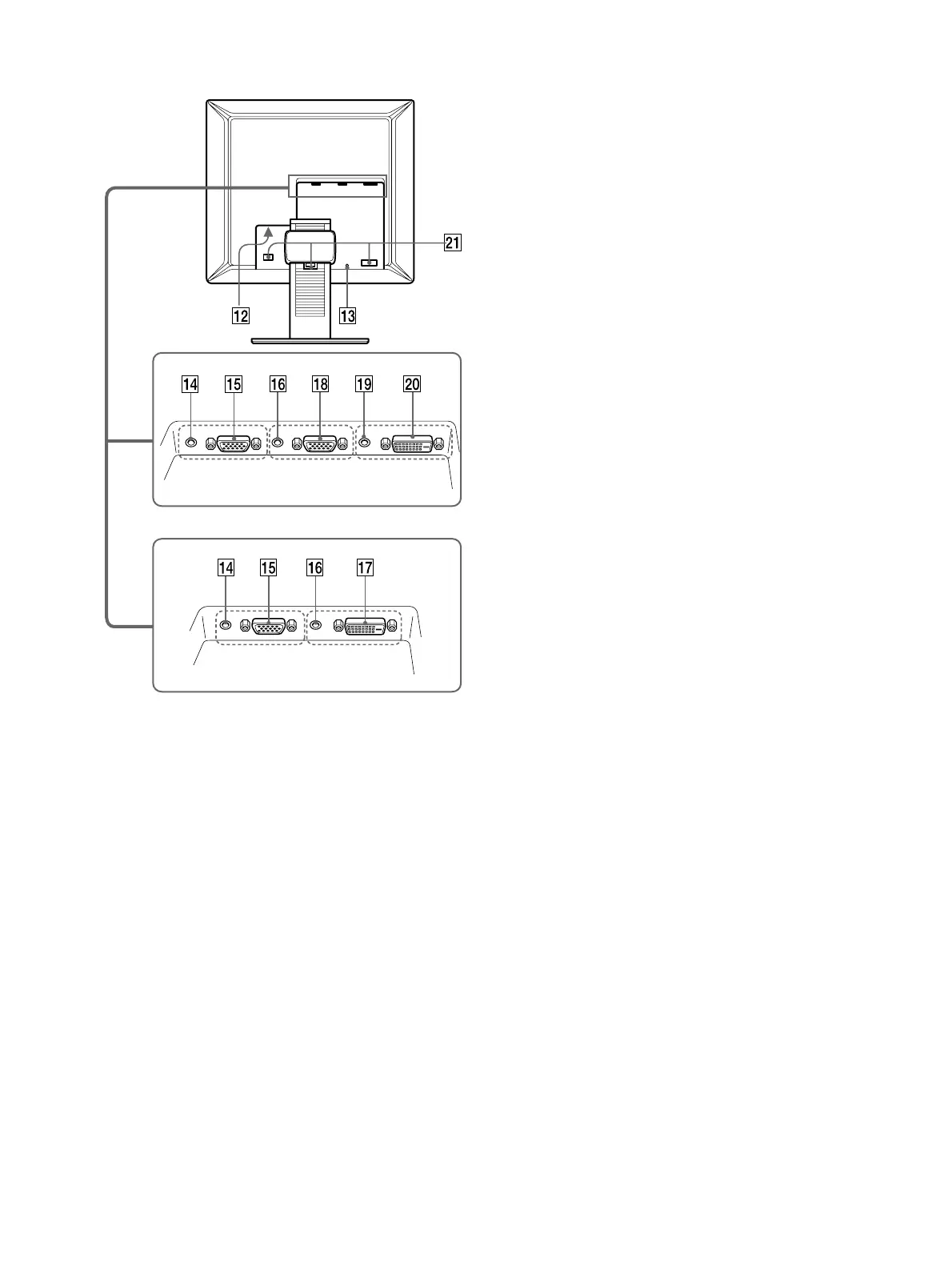
6
LCD-skärmens baksida
L AC IN-anslutning (sidan 8)
Här ansluter du nätkabeln (medföljer).
M Hål för stöldskyddslås
Det här uttaget är avsett för ett stöldskyddslås från
Kensington Micro Saver Security System.
Micro Saver Security System är ett varumärke som tillhör
Kensington.
N Ljudingång för INPUT1 (sidan 8)
Den här kontakten tar emot ljudsignaler när den ansluts till
ljudutgången på en dator eller annan ljudutrustning som
ansluts till INPUT1.
O HD15-ingång (analog RGB) för INPUT1 (sidan 7)
Den här ingången är avsedd för analoga RGB-videosignaler
(0,700 Vp-p, positiv) och synksignaler.
P Ljudingång för INPUT2 (sidan 8)
Den här kontakten tar emot ljudsignaler när den ansluts till
ljudutgången på en dator eller annan ljudutrustning som
ansluts till INPUT2.
Q DVI-D-ingång (digital RGB) för INPUT2 (SDM-X53)
(sidan 7)
Den här ingången tar emot digitala RGB-videosignaler enligt
DVI Rev. 1.0.
R HD15-ingång (analog RGB) för INPUT2 (SDM-X73/
X93 (sidan 7)
Den här ingången är avsedd för analoga RGB-videosignaler
(0,700 Vp-p, positiv) och synksignaler.
S Ljudingång för INPUT3 (SDM-X73/X93) (sidan 8)
Den här kontakten tar emot ljudsignaler när den ansluts till
ljudutgången på en dator eller annan ljudutrustning som
ansluts till INPUT3.
T DVI-D-ingång (digital RGB) för INPUT3 (SDM-X73/
X93) (sidan 7)
Den här ingången tar emot digitala RGB-videosignaler enligt
DVI Rev. 1.0.
U Kabelhållare (sidan 9)
Kabelklämman håller kablar och sladdar på plats.
INPUT 1 INPUT 2
INPUT 1 INPUT 2
INPUT 3
SDM-X73/X93
SDM-X53

Table of Contents