EasyManua.ls Logo

Sony SDM-X73 - Installation; Schritt 1:Anschließen der Videosignalkabel

Sony SDM-X73
Print Icon
To Next Page IconTo Next Page
To Next Page IconTo Next Page
To Previous Page IconTo Previous Page
To Previous Page IconTo Previous Page
Loading...
7
DE
Installation
Bevor Sie mit dem Monitor arbeiten, überprüfen Sie bitte, ob
folgende Teile mitgeliefert wurden:
LCD-Bildschirm
Netzkabel
HD15-HD15-Videosignalkabel (analoges RGB)
DVI-D-Videosignalkabel (digitales RGB)
Audiokabel (Stereoministecker)
CD-ROM (Dienstprogramm für Windows/Macintosh,
Bedienungsanleitung usw.)
Garantiekarte
Kurzreferenz
Schritt 1: Anschließen der
Videosignalkabel
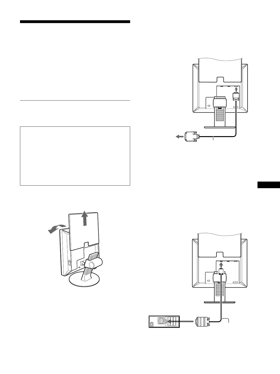
1 Schieben Sie die hintere Abdeckung nach oben.
2 Neigen Sie den Bildschirm nach vorn.
Anschließen eines Computers mit einem
DVI-Ausgangsanschluss (digitales RGB)
Schließen Sie den Computer mit dem mitgelieferten DVI-D-
Videosignalkabel (digitales RGB) an den DVI-D-
Eingangsanschluss (digitales RGB) für INPUT2 (SDM-X53)
bzw. INPUT3 (SDM-X73/X93) am Monitor an.
Anschließen eines Computers mit einem HD15-
Ausgangsanschluss (analoges RGB)
Schließen Sie den Computer mit dem mitgelieferten HD15-
HD15-Videosignalkabel (analoges RGB) an den HD15-
Eingangsanschluss (analoges RGB) für INPUT1 oder INPUT2
(SDM-X73/X93) am Monitor an.
Schließen Sie den Computer wie in den folgenden Abbildungen
dargestellt an.
x Anschließen an einen IBM PC/AT oder
kompatiblen Computer
Schalten Sie vor dem Anschließen den Monitor und den
Computer aus.
Wenn Sie den Computer an den HD15-
Eingangsanschluss (analoges RGB) des Monitors
anschließen, schlagen Sie bitte unter „Anschließen eines
Computers mit einem HD15-Ausgangsanschluss
(analoges RGB)“ nach.
Hinweis
Berühren Sie die Stifte des Videosignalkabelanschlusses nicht. Sie
könnten die Stifte sonst möglicherweise verbiegen.
an den DVI-Ausgangsanschluss
(digitales RGB) des Computers
an den DVI-D-
Eingangsanschluss
(digitales RGB)
DVI-D-Videosignalkabel
(digitales RGB)
(mitgeliefert)
IBM PC/AT oder kompatibler
Computer
an den HD15-
Eingangsanschluss
(analoges RGB)
an den HD15-Ausgangsanschluss
(analoges RGB) des Computers
HD15-HD15-
Videosignalkabel
(analoges RGB)
(mitgeliefert)
(Fortsetzung)

Table of Contents

Related product manuals