EasyManua.ls Logo

Sony SDM-X73 - Instalace 1: Připojte Kabely Videosignálu; Instalace

Sony SDM-X73
Print Icon
To Next Page IconTo Next Page
To Next Page IconTo Next Page
To Previous Page IconTo Previous Page
To Previous Page IconTo Previous Page
Loading...
7
CZ
Instalace
Než začnete monitor používat, zkontrolujte, zda balení
obsahuje následující položky:
•Displej LCD
Napájecí kabel
Kabel videosignálu HD15-HD15 (analogový signál RGB)
Kabel videosignálu DVI-D (digitální signál RGB)
Audio přívod (stereo minikonektor)
Disk CD-ROM (obslužný program pro Windows/
Macintosh, Provozní pokyny apod.)
Záruční list
Průvodce rychlým nastavením
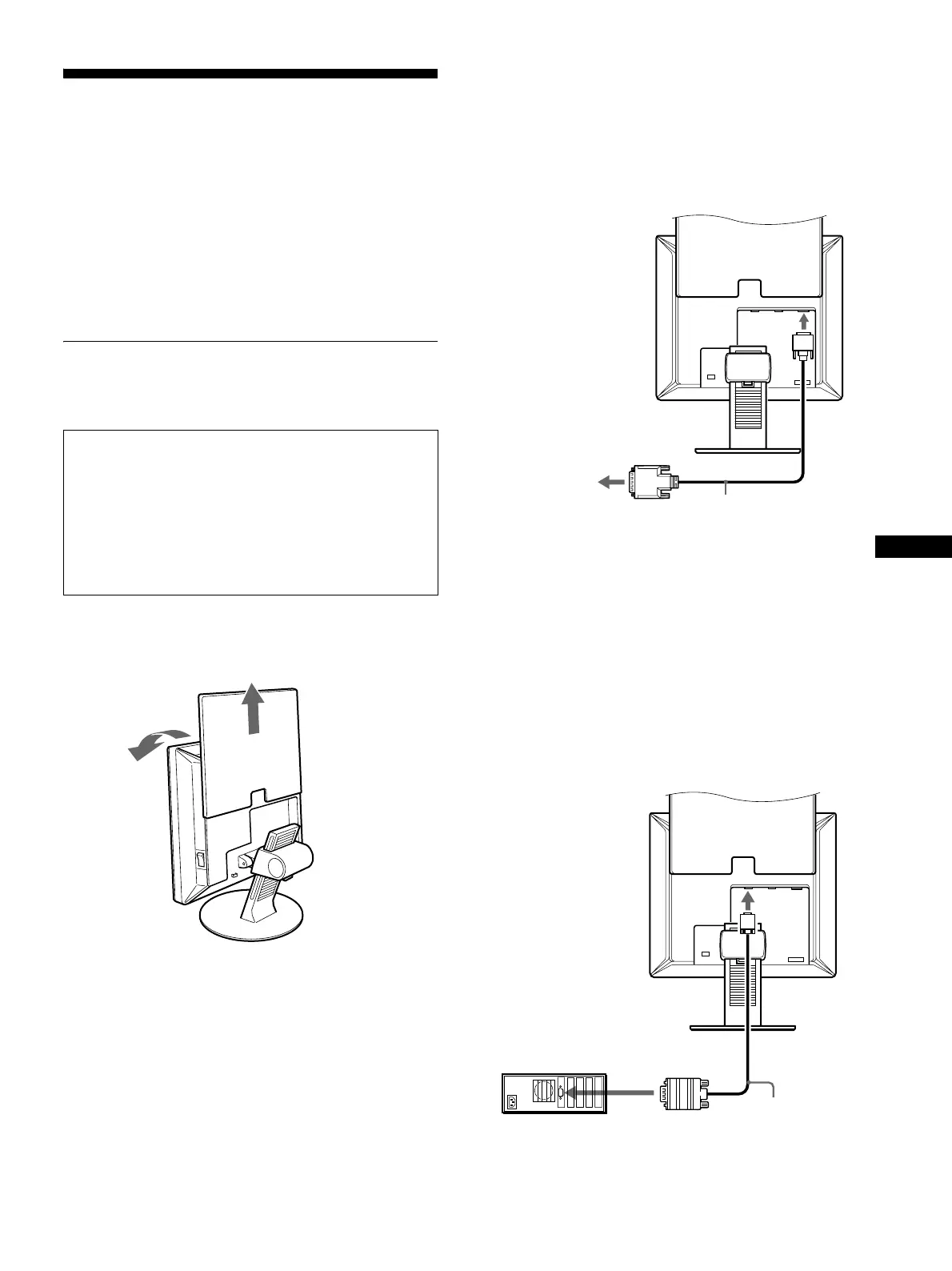
Instalace 1: ipojte kabely
videosignálu
1 Vysuňte nahoru zadní kryt.
2 Nakloňte displej dopředu.
Připojte počítač vybavený výstupním konektorem
DVI (digitální signál RGB)
Pomocí dodaného kabelu videosignálu DVI-D (digitální signál
RGB) připojte počítač ke vstupnímu konektoru monitoru DVI-D
(digitální signál RGB) pro INPUT2 (SDM-X53) nebo INPUT3
(SDM-X73/X93).
Připojte počítač vybavený výstupním konektorem
HD15 (analogový signál RGB)
Pomocí dodaného kabelu videosignálu HD15-HD15 (analogový
signál RGB) připojte počítač ke vstupnímu konektoru monitoru HD
15 (analogový signál RGB) pro INPUT1 nebo INPUT2 (SDM-X73/
X93).
Připojte počítač podle následujících ilustrací.
x Připojení k počítači IBM PC/AT nebo
kompatibilnímu
Monitor i počítač před připojením vypněte.
Při připojování počítače ke vstupnímu konektoru
monitoru HD15 (analogový signál RGB) viz „Připojte
počítač vybavený výstupním konektorem HD15
(analogový signál RGB)“.
Poznámka
Nedotýkejte se kolíků konektoru kabelu videosignálu, mohlo by
dojít k jejich ohnutí.
k výstupnímu konektoru DVI
počítače (digitální signál RGB)
ke vstupnímu
konektoru DVI-D
(digitální signál RGB)
Kabel videosignálu
DVI-D (digitál signál
RGB) (dodaný)
IBM PC/AT nebo
kompatibilnímu
ke vstupnímu konektoru
HD 15 (analogový signál
RGB)
k výstupnímu konektoru HD15
počítače (analogový signál RGB)
Kabel videosignálu
HD15-HD15 (analogový
signál RGB) (dodaný)
počítač IBM PC/AT nebo
kompatibilní
(pokračování)

Table of Contents

Related product manuals