EasyManua.ls Logo

Sony SDM-X73 - Nastavitev; Nastavitev 1: Priključite Video Signalne Kable

Sony SDM-X73
Print Icon
To Next Page IconTo Next Page
To Next Page IconTo Next Page
To Previous Page IconTo Previous Page
To Previous Page IconTo Previous Page
Loading...
7
SI
Nastavitev
Preden uporabite monitor, preverite, če so v vašem kartonu
naslednje stvari:
•LCD monitor
Napajalni kabel
Kabel HD15-HD15 za video signal (analogni RGB)
Kabel DVI-D za video signal (digitalni RGB)
Avdio kabel ( stereo mini vtikač)
CD-ROM (pomožni programi za Windows/Macintosh,
Navodila za uporabo, etc.)
•Garancijski list
Navodila za hitro nastavitev
Nastavitev 1: Priključite video
signalne kable
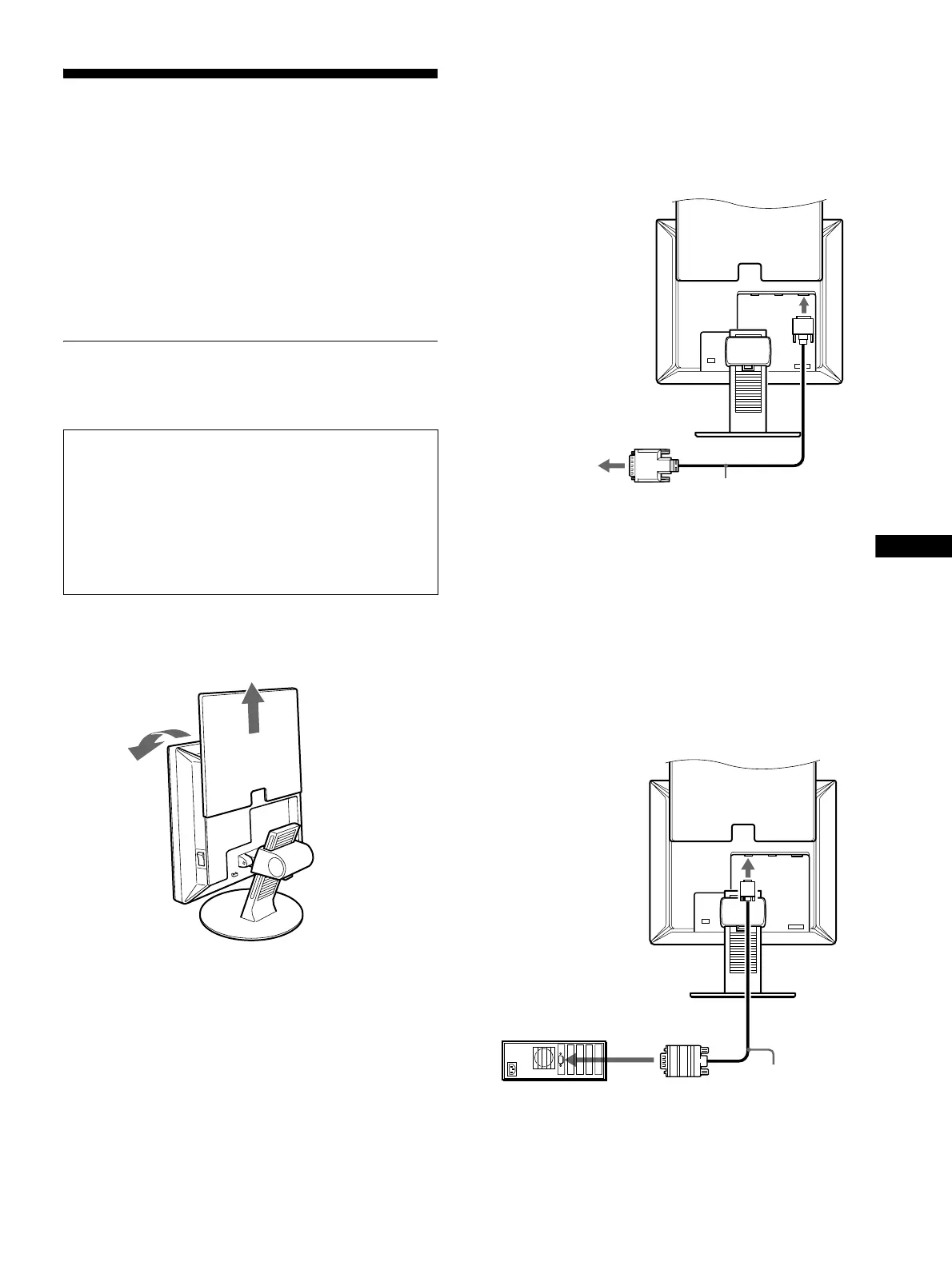
1 Zaprite pokrov hrbtišča.
2 Nagnite zaslon naprej.
Priključite računalnik opremljen z izhodnim
konektorjem DVI (digitalni RGB).
Z dobavljenim video signalnim kablom DVI-D (digitalni RGB),
priključite računalnik na vhodni konektor monitorja DVI-D (digitalni
RGB) za INPUT2 (SDM-X53) ali INPUT3 (SDM-X73/X93).
Priključite računalnik opremljen z izhodnim
konektorjem HD15 (analogni RGB).
Z dobavljenim video signalnim kablom HD15-HD15 (analogni
RGB), priključite računalnik na vhodni konektor HD 15 monitorja
(analogni RGB) za INPUT1 ali INPUT2 (SDM-X73/X93).
Priključite računalnik skladno z naslednjimi ilustracijami.
x Priključitev na IBM PC/AT ali
kompatibilni računalnik
Pred priključitvijo izklopite monitor in računalnik.
Za priključek računalnika na izhodni konektor HD15
monitorja (analogni RGB), glejte »Priključite
računalnik opremljen z izhodnim konektorjem HD15
(analogni RGB).«
Opozorilo
Ne dotikajte se nožic kabla konektorja za video signal, ker boste
lahko zvili nožice.
na vhodni konektor DVI-D
računalnika (digitalni RGB)
na vhodni konektor
DVI-D (digitalni RGB)
kabel DVI-D za video
signal (digitalni RGB)
(dobavljen)
IBM PC/AT ali
kompatibilni računalnik
na vhodni konektor
HD15 (analogni RGB)
na vhodni konektor HD15
računalnika (analogni RGB)
kabel HD15-HD15 za
video signal (analogni
RGB) (dobavljen)
IBM PC/AT ali kompatibilen
računalnik
(nadaljevanje)

Table of Contents

Related product manuals