EasyManua.ls Logo

Sony SDM-X73 - Kurulum; Kur 1: Video Sinyal Kablolarını Bağlayın

Sony SDM-X73
Print Icon
To Next Page IconTo Next Page
To Next Page IconTo Next Page
To Previous Page IconTo Previous Page
To Previous Page IconTo Previous Page
Loading...
7
TR
Kurulum
Monitörünüzü kullanmaya başlamadan önce, aşağıdakilerin
kutuda bulunduğundan emin olun.
LCD monitör
•Güç kablosu
HD15HD15 video sinyal kablosu (analog RGB)
DVID video sinyal kablosu (dijital RGB)
Ses kablosu (stereo miniplug)
CDROM (Windows/Macintosh için program yazılımı,
İşletim Talimatları, vb.)
Garanti kartı
Kolay Kurulum Kılavuzu
Kur 1: Video sinyal kablolarını
bağlayın
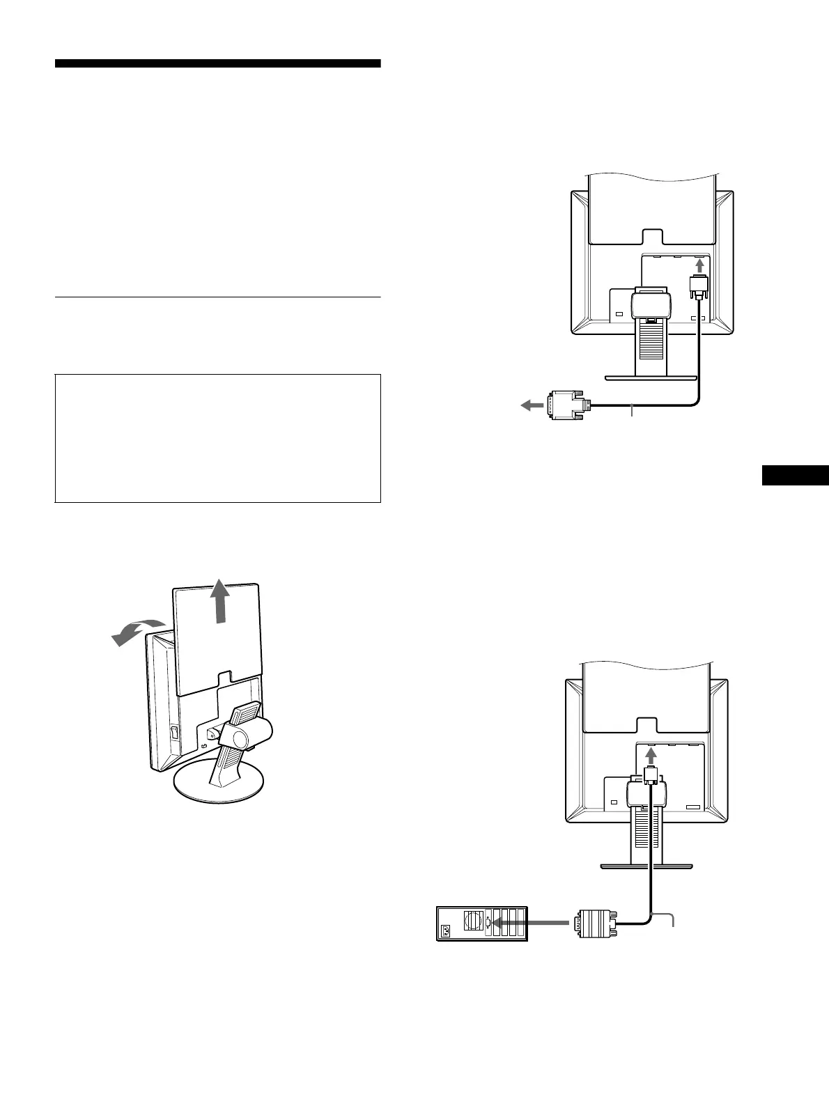
1 Arka kapağı yukarı doğru kaydırın.
2 Ekranı öne doğru eğin.
DVI çıkış soketli (dijital RGB) bir bilgisayar
bağlayın
Verilen DVID video sinyal kablosunu (dijital RGB) kullanarak,
bilgisayarı INPUT2 (SDMX53) veya INPUT3 (SDMX73/X93) için,
monitörün DVID giriş soketine (dijital RGB) bağlayın.
HD15 çıkış soketli (analog RGB) bir bilgisayar
bağlayın
Verilen HD15HD15 video sinyal kablosunu (analog RGB)
kullanarak, bilgisayarı monitörün HD 15 giriş soketine (analog RGB)
INPUT1 veya INPUT2 (SDMX73/X93) için bağlayın.
Bilgisayarı, aşağıdaki şekillere göre bağlayın.
x IBM PC/AT veya
uyumlu bir bilgisayara bağlama
Bağlamadan önce monitörü ve bilgisayarınızı kapatın.
•Bilgisayarı monitörün HD15 giriş soketine bağlarken
(analog RGB), “HD15 çıkış soketli (analog RGB) bir
bilgisayar bağlayın” bölümüne başvurun.
Not
Video sinyal kablosu bağlayıcısının pinlerine dokunmayın,
dokunmak pinlerin eğilmesine yol açabilir.
bilgisayarın DVI çıkış soketine
(dijital RGB)
DVID giriş soketine
(dijital RGB)
DVID video sinyal
kablosu (dijital
RGB) (verilmiştir)
IBM PC/AT veya
uyumlu bilgisayar
HD15 giriş soketine
(analog RGB)
bilgisayarın HD15 çıkış
soketine (analog RGB)
HD15HD15 video
sinyal kablosu (analog
RGB) (verilmiştir)
IBM PC/AT veya uyumlu
bilgisayar
(devamı var)

Table of Contents

Related product manuals