EasyManua.ls Logo

Sony SDM-X73 - Menu COULEUR

Sony SDM-X73
Print Icon
To Next Page IconTo Next Page
To Next Page IconTo Next Page
To Previous Page IconTo Previous Page
To Previous Page IconTo Previous Page
Loading...
15
FR
6 Appuyez sur les touches m/M pour sélectionner
« PHASE », puis appuyez sur la touche OK.
Le menu de réglage « PHASE » apparaît à l’écran.
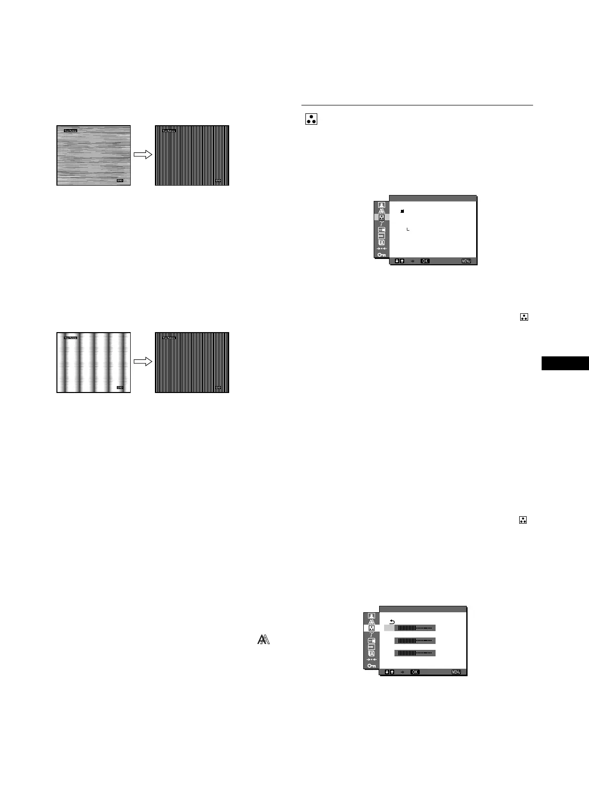
7 Appuyez sur les touches m/M jusqu’à ce que les
rayures horizontales soient réduites au minimum.
Réglez la valeur de façon à ce que les rayures horizontales
soient réduites au minimum.
8 Appuyez sur la touche OK.
Le menu principal apparaît à l’écran.
Si vous observez des bandes verticales sur tout l’écran,
ajustez le pas en effectuant les étapes suivantes.
9 Appuyez sur les touches m/M pour sélectionner
« PITCH », puis appuyez sur la touche OK.
Le menu de réglage « PITCH » apparaît à l’écran.
10 Appuyez sur les touches m/M jusqu’à ce que les
bandes verticales disparaissent.
Ajustez la valeur jusqu’à ce que les rayures verticales aient
disparu.
11 Cliquez sur [END] sur l’écran pour désactiver la mire
de test.
x Réglage manuel de la position de l’image
(CENTRAGE H /CENTRAGE V)
Si l’image n’est pas centrée sur l’écran, ajustez le centrage de
l’image en procédant comme suit.
1 Réglez la résolution sur 1024 × 768 (SDM-X53),
1280 × 1024 (SDM-X73/X93) sur l’ordinateur.
2 Chargez le CD-ROM.
3 Lancez le CD-ROM, sélectionnez la zone et le
modèle, puis affichez la mire de test.
Pour Windows
Cliquez sur [Utility] t [Windows]/[Win Utility.exe].
Pour Macintosh
Cliquez sur [Utility] t [Mac]/[Mac Utility].
4 Appuyez sur la touche MENU.
Le menu principal apparaît à l’écran.
5 Appuyez sur les touches m/M pour sélectionner
(ECRAN), puis appuyez sur la touche OK.
Le menu ECRAN apparaît à l’écran.
6 Appuyez sur les touches m/M pour sélectionner
« CENTRAGE H » ou « CENTRAGE V », puis
appuyez sur la touche OK.
Le menu de réglage « CENTRAGE H » ou
« CENTRAGE V » apparaît sur l’écran.
7 Appuyez sur les touches m/M pour centrer la mire de
test sur l’écran.
8 Cliquez sur [END] sur l’écran pour désactiver la mire
de test.
Menu COULEUR
Vous pouvez sélectionner le niveau de couleur des zones de
couleur blanche de l’image à l’aide des réglages de température
des couleurs par défaut.
Vous pouvez également régler avec précision la température des
couleurs, si nécessaire.
1 Appuyez sur la touche MENU.
Le menu principal apparaît à l’écran.
2 Appuyez sur les touches m/M pour sélectionner
(COULEUR), puis appuyez sur la touche OK.
Le menu COULEUR apparaît à l’écran.
3 Appuyez sur les touches m/M pour sélectionner la
température de couleur souhaitée, puis appuyez sur
la touche OK.
Les blancs passent d’une teinte bleuâtre à une teinte rougeâtre
lorsque la température passe de 9300K à 6500K.
x Réglage précis de la température des
couleurs
Le réglage INPUT est mémorisé.
SDM-X53 : INPUT1 ou INPUT2 (DVI-D)
SDM-X73/93 : INPUT1, INPUT2 ou INPUT3 (DVI-D)
1 Appuyez sur la touche MENU.
Le menu principal apparaît à l’écran.
2 Appuyez sur les touches m/M pour sélectionner
(COULEUR), puis appuyez sur la touche OK.
Le menu COULEUR apparaît à l’écran.
3 Appuyez sur les touches m/M pour sélectionner
« RÉGLER », puis appuyez sur la touche OK.
Le menu de réglage fin de la température des couleurs
apparaît à l’écran.
EX I T
1280 1024 60Hzx/
9300K
6500K
UTILISATEUR
RÉGLER
COULEUR
EX I T
50
50
50
1280 1024 60Hzx/
R
G
B
REGLER UTILISA
(suite page suivante)

Table of Contents

Related product manuals