EasyManua.ls Logo

Sony SDM-X73 - Installation; Réglage 1: Raccordez Les Câbles de Signal VIDéo

Sony SDM-X73
Print Icon
To Next Page IconTo Next Page
To Next Page IconTo Next Page
To Previous Page IconTo Previous Page
To Previous Page IconTo Previous Page
Loading...
7
FR
Installation
Avant d’utiliser votre moniteur, vérifiez que les accessoires
suivants se trouvent bien dans le carton d’emballage:
Ecran LCD
Câble d’alimentation
Câble de signal vidéo HD15-HD15 (RVB analogique)
Câble de signal vidéo DVI-D (RVB numérique)
Câble audio (minifiche stéréo)
CD-ROM (logiciel utilitaire pour Windows et Macintosh,
mode d’emploi, etc.)
Carte de garantie
Guide de configuration rapide
Réglage 1 : Raccordez les câbles
de signal vidéo
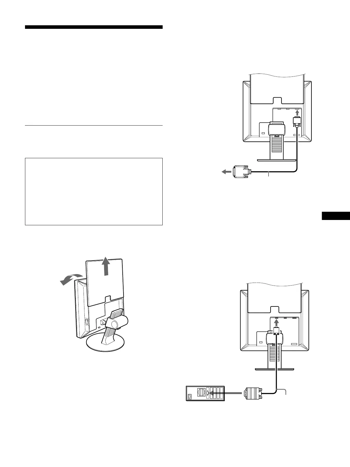
1 Faites coulisser le panneau arrière vers le haut.
2 Faites basculer l’écran vers l’avant.
Raccordez un ordinateur équipé d’un connecteur
de sortie DVI (RVB numérique)
Raccordez l’ordinateur au connecteur d’entrée DVI-D (RVB
numérique) du moniteur pour INPUT2 (SDM-X53) ou INPUT3
(SDM-X73/X93) à l’aide du câble de signal vidéo DVI-D (RVB
numérique) fourni.
Raccordez un ordinateur équipé d’un connecteur
de sortie HD15 (RVB analogique)
Raccordez l’ordinateur au connecteur d’entrée HD15 (RVB
analogique) pour INPUT1 ou INPUT2 du moniteur à l’aide du
câble de signal vidéo HD15-HD15 (RVB analogique) fourni
(SDM-X73/X93).
Raccordez l’ordinateur comme illustré ci-après.
x Raccordement à un ordinateur
IBM PC/AT ou compatible
Eteignez le moniteur et l’ordinateur avant d’effectuer le
raccordement.
Lorsque vous raccordez l’ordinateur au connecteur
d’entrée HD15 (RVB analogique) du moniteur,
reportez-vous à « Raccordez un ordinateur équipé d’un
connecteur de sortie HD15 (RVB analogique). »
Remarque
Ne touchez pas les broches du connecteur du câble de signal vidéo, car
vous risquez sinon de plier les broches.
vers le connecteur de sortie DVI
de l’ordinateur (RVB numérique)
vers le connecteur
d’entrée DVI-D
(RVB numérique)
câble de signal
vidéo DVI-D (RVB
numérique) (fourni)
ordinateur
IBM PC/AT ou compatible
vers le connecteur
d’entrée HD 15
(RVB analogique)
vers le connecteur de sortie HD15
de l’ordinateur (RVB analogique)
câble de signal vidéo
HD15-HD15
(RVB analogique)
(fourni)
(suite page suivante)

Table of Contents

Related product manuals