EasyManua.ls Logo

Sony STR-DE597 - Front Panel Section

Sony STR-DE597
60 pages
Print Icon
To Next Page IconTo Next Page
To Next Page IconTo Next Page
To Previous Page IconTo Previous Page
To Previous Page IconTo Previous Page
Loading...
41
STR-DE597
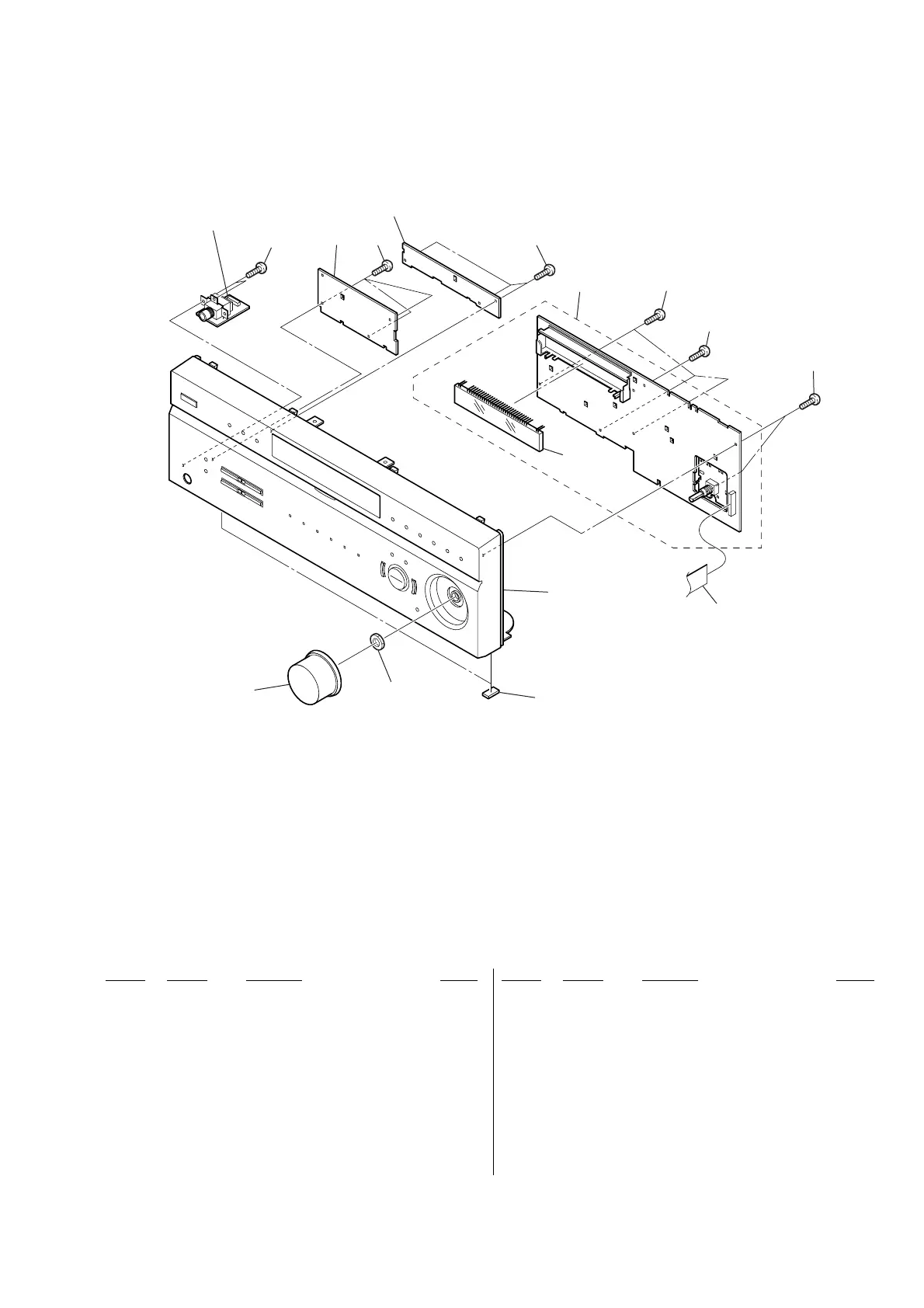
5-2. FRONT PANEL SECTION
Ref. No. Part No. Description Remark Ref. No. Part No. Description Remark
51 X-4956-165-1 FRONT PANEL ASSY (BLACK)...(BLACK) (US)
51 X-4956-166-1 FRONT PANEL ASSY (SILVER)...(SILVER) (US)
51 X-4956-167-1 FRONT PANEL ASSY (BLACK)...(BLACK)
(CND,AUS,SP,MY)
51 X-4956-174-1 FRONT PANEL ASSY (BLACK)...(BLACK)
(AEP,UK)
51 X-4956-175-1 FRONT PANEL ASSY (SILVER)...(SILVER)
(AEP,UK)
51 X-4956-178-1 FRONT PANEL ASSY (GOLD)...(GOLD)
51 X-4956-179-1 FRONT PANEL ASSY (SILVER)...(SILVER)
(E2,AUS,AR)
52 4-977-358-01 CUSHION
53 1-773-150-11 WIRE (FLAT TYPE) (21 CORE)
54 4-951-620-01 SCREW (2.6X8), +BVTP
55 1-861-056-11 TUNING BOARD
56 1-861-057-11 POWER BOARD
57 A-4750-654-A DISPLAY BOARD, COMPLETE
58 4-232-113-01 KNOB (VOL) (BLACK)...(BLACK)
58 4-232-113-12 KNOB (VOL) (SILVER)...(SILVER)
58 4-232-113-22 KNOB (VOL) (GOLD)...(GOLD)
FL101 1-518-966-11 VACUUM FLUORESCENT DISPLAY
supplied with
RV102
not supplied
(HEADPHONE board)
FL101
51
52
58
54
54
54
54
54
54
55
56
57
53

Other manuals for Sony STR-DE597

Related product manuals