EasyManua.ls Logo

Soptop FA2204 - 3.4 Zero; Menu

Default Icon
37 pages
Print Icon
To Next Page IconTo Next Page
To Next Page IconTo Next Page
To Previous Page IconTo Previous Page
To Previous Page IconTo Previous Page
Loading...
12
If remove the container from balance, the data will be negative. The data will keep until power off or
press .
Notice: This function can not be used under zero or above the maximum weighing.
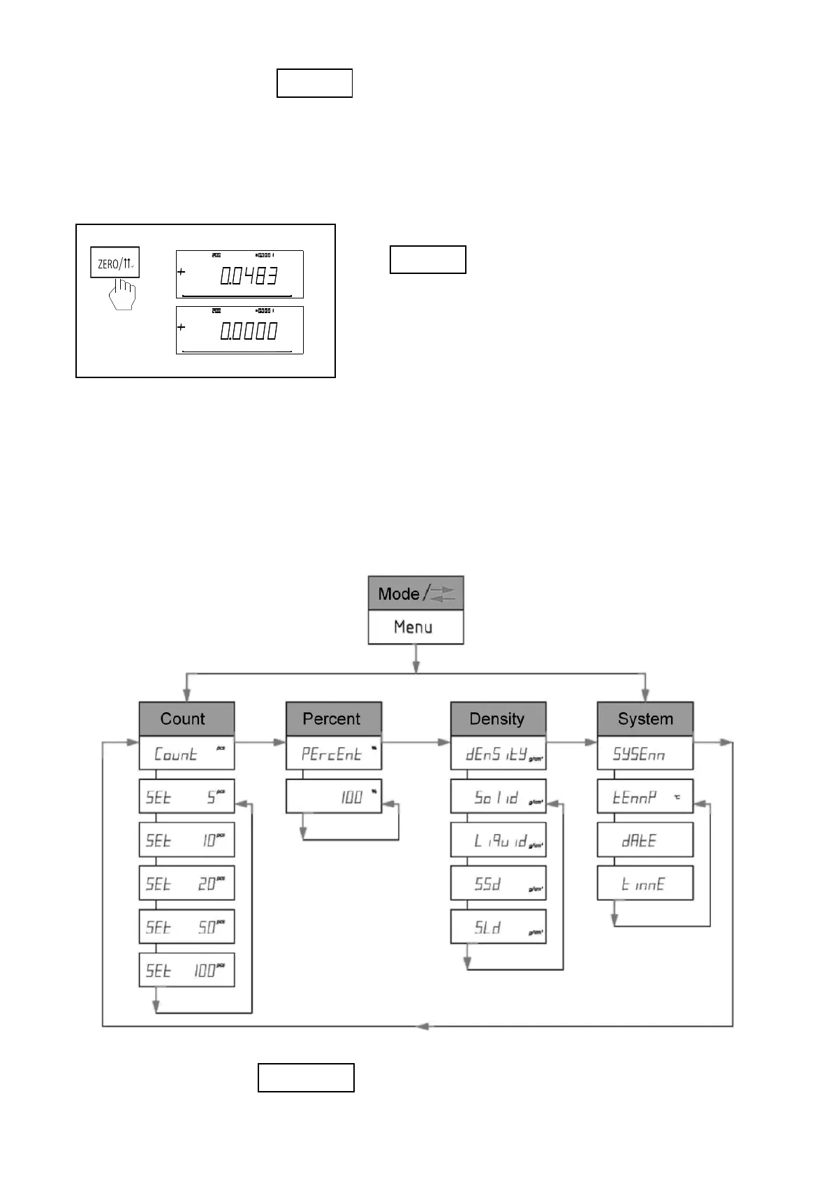
3.4 Zero
Press , balance return to zero.
4 MENU
4.1 Overview
In the menu, you can change the weighing unit or choose other functions for different settings. It can be found in
the 4.2.
Function menu
ZERO
/
Max: gd
g
g
100%0
Max:
g
d
g
g
100%0
Tare
/
MODE
/

Related product manuals