EasyManua.ls Logo

Sorensen DLM16-185E - Figure 2-6. Multiple Loads with Local Sensing; Figure 2-7. Multiple Loads with Remote Sensing

Default Icon
66 pages
Print Icon
To Next Page IconTo Next Page
To Next Page IconTo Next Page
To Previous Page IconTo Previous Page
To Previous Page IconTo Previous Page
Loading...
Installation Sorensen DLM-E Series
20 Operation Manual
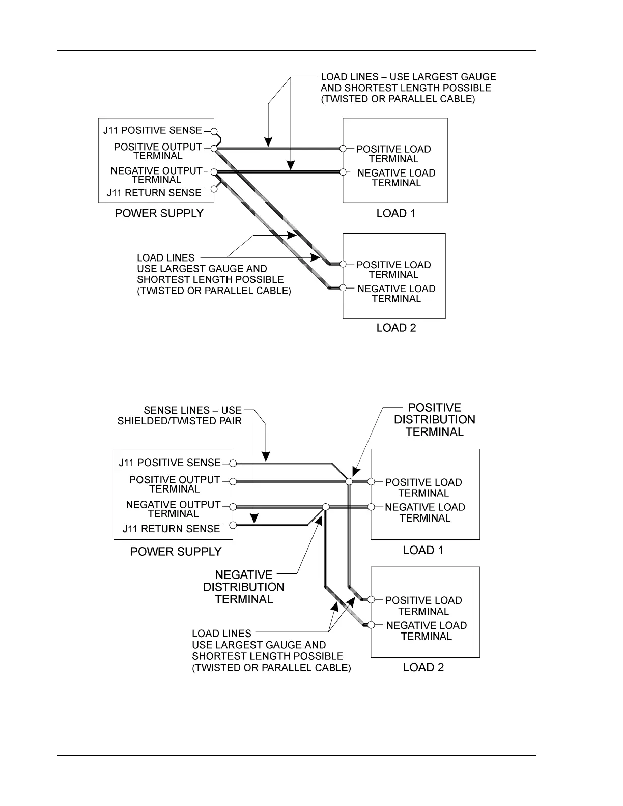
Figure 2–6. Multiple Loads with Local Sensing
(Local sense lines shown are default J11 to busbar connections)
Figure 2–7. Multiple Loads with Remote Sensing
(Local sense lines shown are default J11 to busbar connections)

Table of Contents

Related product manuals