EasyManua.ls Logo

Spirax Sarco SP7-20 - Actuator Bolt Mounting Configurations; Actuator Bolts on the Lever (Rear View); Actuator Bolts on the Valve (Rear View)

Spirax Sarco SP7-20
56 pages
Print Icon
To Next Page IconTo Next Page
To Next Page IconTo Next Page
To Previous Page IconTo Previous Page
To Previous Page IconTo Previous Page
Loading...
IM-P706-03 CTLS Issue 1
18
SP7-20 Smart Positioner
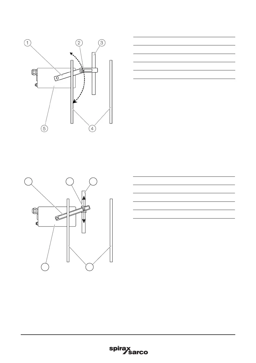
3.1.9 Actuator bolts on the lever (Rear view)
1 Potentiometer lever
2 Actuator bolts
3 Valve stem
4 Valve yoke
5 Positioner
Fig. 10
1 Potentiometer lever
2 Actuator bolts
3 Valve stem
4 Valve yoke
5 Positioner
Fig. 11
3.1.10 Actuator bolts on the Valve (Rear view)
M11032
1 2 3
5 4

Related product manuals