EasyManua.ls Logo

SunStar SPS/D-BH6000-02

SunStar SPS/D-BH6000-02
62 pages
To Next Page IconTo Next Page
To Next Page IconTo Next Page
To Previous Page IconTo Previous Page
To Previous Page IconTo Previous Page
Loading...
42
1100
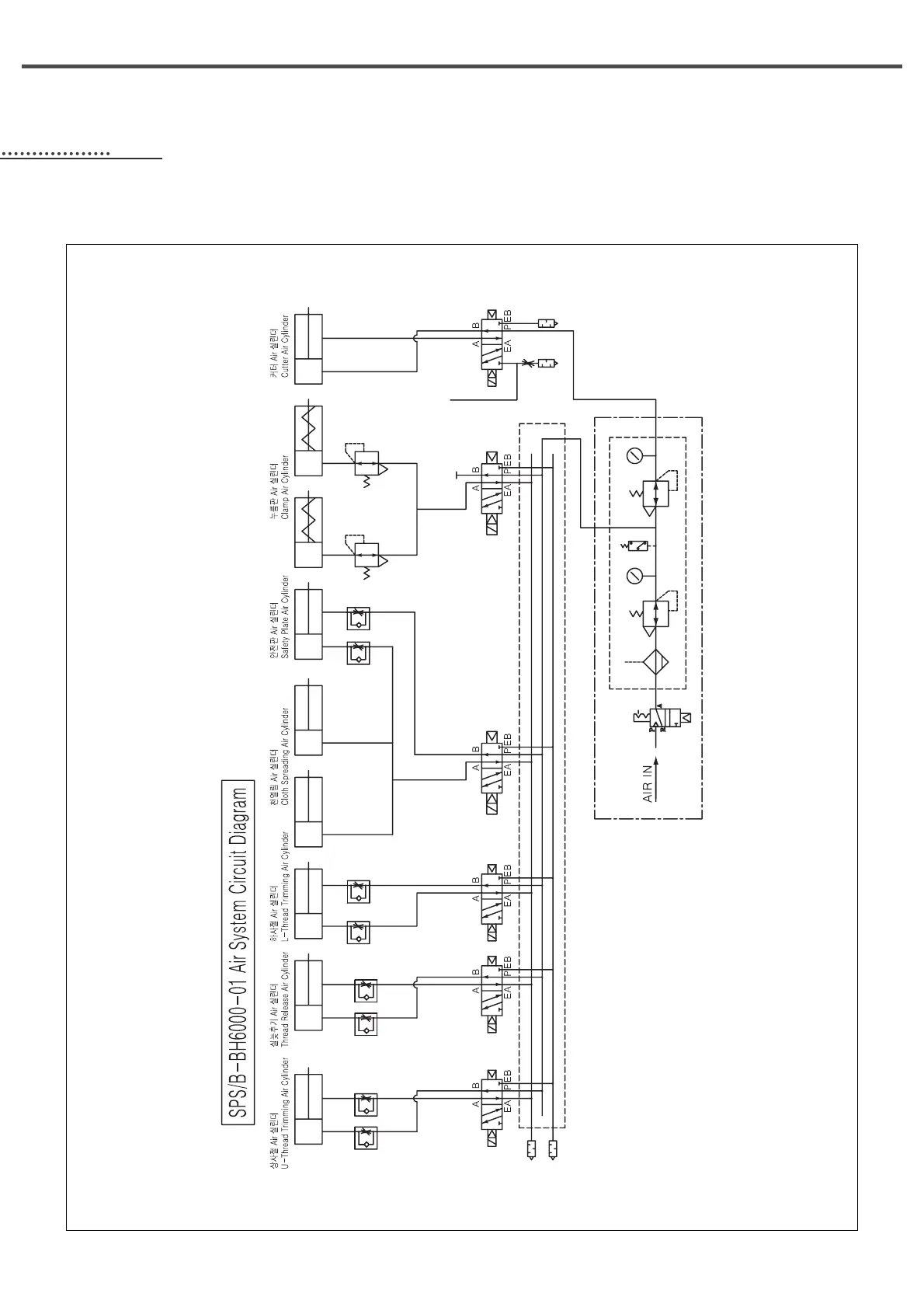
Air System Circuit Diagram

Table of Contents

Related product manuals