EasyManua.ls Logo

SUNWARD SWE215F-5 - Machine Assembly Drawing

SUNWARD SWE215F-5
182 pages
Print Icon
To Next Page IconTo Next Page
To Next Page IconTo Next Page
To Previous Page IconTo Previous Page
To Previous Page IconTo Previous Page
Loading...
OPERATION & MAINTENANCE MANUAL SWE215F
46
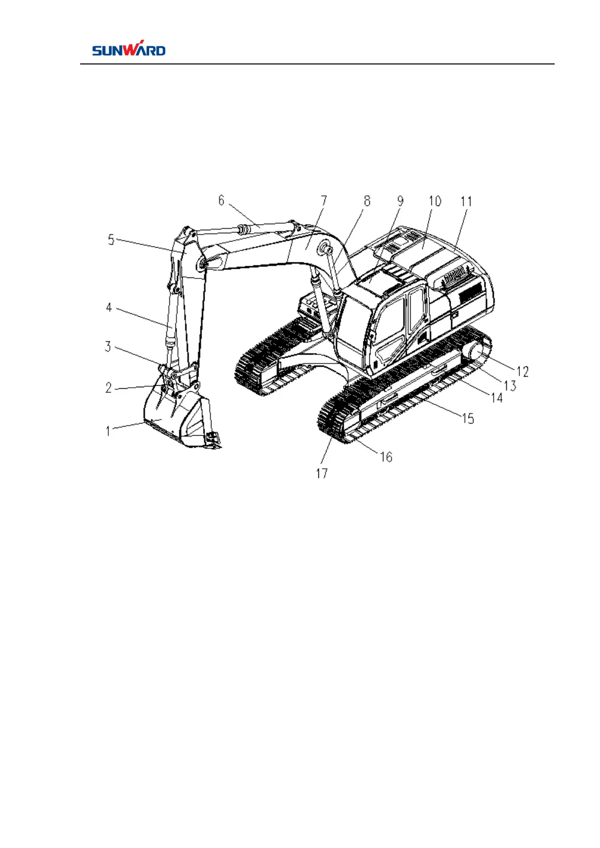
3.1 MACHINE ASSEMBLY DRAWING
To operate machine safely and properly, it’s crucial to fully understand the machine’s individual
structure and operation methods for controlling equipment, as well as the presented meaning.
1. Bucket 2.Linkage 3. Rocker arm
4. Bucket cylinder 5. Arm 6. Arm cylinder
7. Boom 8. Boom cylinder 9.Cab
10. Engine hood 11. Counterweight 12. Travel motor
13. Sprocket 14. Carrier roller 15. Track roller
16. Idler 17. Track assembly

Table of Contents

Related product manuals