EasyManua.ls Logo

SUNWARD SWE215F-5 - Page 93

SUNWARD SWE215F-5
182 pages
Print Icon
To Next Page IconTo Next Page
To Next Page IconTo Next Page
To Previous Page IconTo Previous Page
To Previous Page IconTo Previous Page
Loading...
OPERATION & MAINTENANCE MANUAL SWE215F
86
Operation Instruction
The cab inner is equipped with air conditioner, the panel is on the left controlling box, and users can
start the air conditioner according to environmental temperature and self requirement, and adjusting
inner temperature. We suggest use the conditioner according to national environmental protection
requirements and conditioner temperature controlling rules.
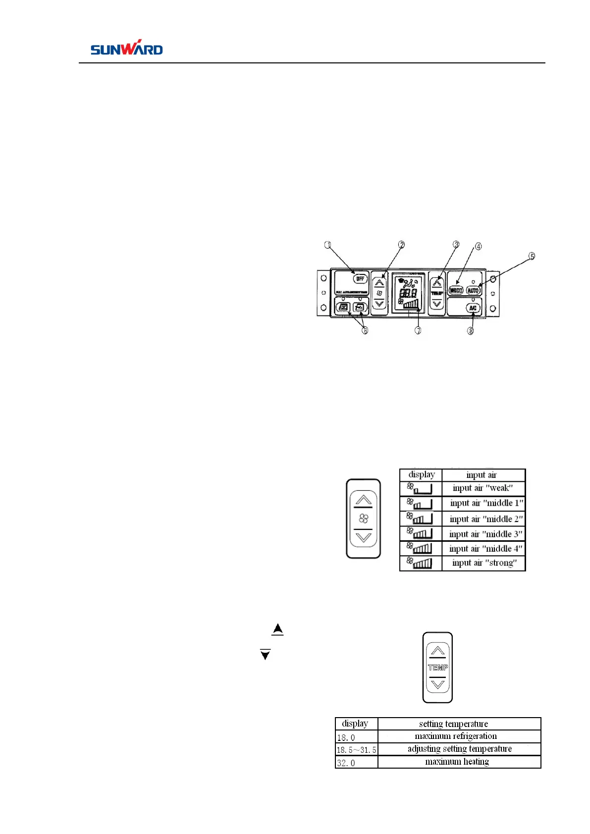
Control panel of air conditioner shows as following picture:
1 Power switch
2 wind speed setting switch
3 temperature setting switch
4 air outlet mode setting switch
5 auto mode setting switch
6 inner/exterior air-in switch
7liquid crystal display screen
8air conditioner start/close switch
Remark: when the function of auto mode setting
switch 5, inner/exterior air-in switch 6 and air
conditioner start/close switch 8 are started, the lamp
above the switches will be lighted.
The function of buttons and switches are as follows:
1. Power switch
The control of fan and air conditioner is as below.
Press the OFF switch 1, the display of temperature and
input air will disappear on the screen. The lamp above
the auto mode setting switch 5 and air conditioner
start/close switch 8 will be turned off. The running
will be stop.
2. Wind speed setting switch 2: the input air can be
set from step 1 to 6. The input air will be
displayed on the screen. Press the button , the input
air will be strengthened; Press the button ,
the input air will be weakened. When auto mode is started,
the input air will be switched automatically.
3.Temperature setting
To set the temperature of cab inner.
The temperature of cab inner can be set from 18.0
centigrade to 32.0 centigrade. Press the

Table of Contents

Related product manuals