EasyManua.ls Logo

Teac M-1MD - Connecting Components; Antenna and Speaker Setup

Teac M-1MD
107 pages
Print Icon
To Next Page IconTo Next Page
To Next Page IconTo Next Page
To Previous Page IconTo Previous Page
To Previous Page IconTo Previous Page
Loading...
8
FRANÇAISENGLISH
Connexions
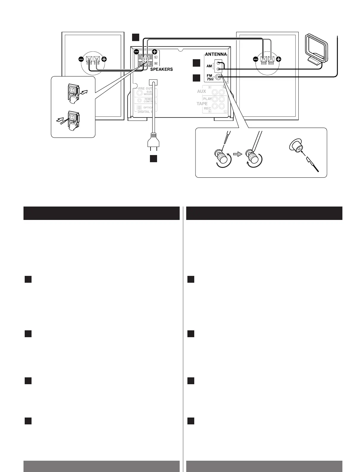
ATTENTION
Coupez l’alimentation électrique de tout l’équipement avant de
faire les branchements.
Cordon d'alimentation (CA)
Branchez ce cordon d’alimentation CA sur une prise de
courant CA murale.
D
Antenne cadre AM
Pour poser l'antenne sur une surface, fixer la griffe dans la
rainure. Après l'avoir posée, l'orienter de manière á obtenir la
meilleure réception possible.
A
Antenne FM intérieure
Dépliez le fil et le fixer sur un encadrement de fenêtre ou un
mur à l'aide de punaises, ou de tout autre système de fixation
équivalent, dès que vous aurez trouvé la position vous
permettant d'obtenir la meilleure réception possible.
B
SPEAKERS
Connectez le fil noir sur
_
et le fil rouge sur
+
.
C
AC Power Cord
Plug the AC power cord to an AC wall socket.
D
AM Loop Antenna
To stand the antenna on a surface, fix the claw to the slot.
After standing it, position it to find the best direction and
position for radio reception.
A
CAUTION
Turn off the power of all the equipment before making connections.
FM feeder antenna
Extend the lead and fix it to a window frame or wall with
thumbtacks or the like, where reception is best.
B
SPEAKERS
Please connect the black cord to _ and the red cord to +.
C
Connection
1
2
AM FM
A
B
D
C

Table of Contents

Related product manuals