EasyManua.ls Logo

Technosoft IDM240-5EI - Page 18

Technosoft IDM240-5EI
106 pages
Print Icon
To Next Page IconTo Next Page
To Next Page IconTo Next Page
To Previous Page IconTo Previous Page
To Previous Page IconTo Previous Page
Loading...
© Technosoft 2011 7
IDMx40 Technical Reference
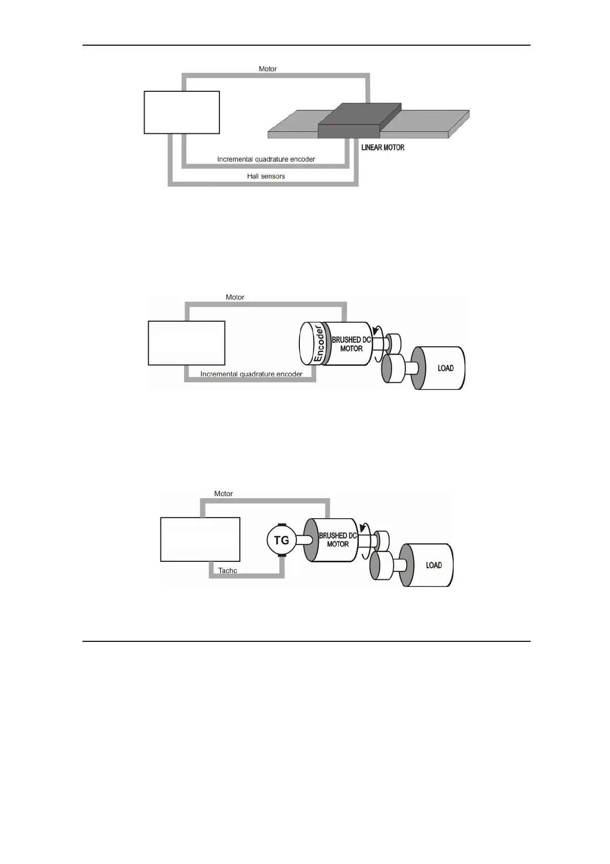
Figure 2.4. Brushless DC linear motor. Position/speed/torque control. Hall sensors and
quadrature encoder on motor
5. Position, speed or torque control of a DC brushed rotary motor with an incremental
quadrature encoder on its shaft. Scaling factors take into account the transmission ratio
between motor and load (rotary or linear). Therefore, the motion commands (for position,
speed and acceleration) expressed in SI units (or derivatives) refer to the load, while the
same commands, expressed in IU units, refer to the motor.
Figure 2.5. DC brushed rotary motor. Position/speed/torque control. Quadrature encoder on
motor
6. Speed or torque control of a DC brushed rotary motor with a tachometer on its shaft.
Scaling factors take into account the transmission ratio between motor and load (rotary or
linear). Therefore, the motion commands (for speed and acceleration) expressed in SI units
(or derivatives) refer to the load
1
, while the same commands, expressed in IU units, refer to
the motor
Figure 2.6. DC brushed rotary motor. Speed/torque control. Tachometer on motor
IDMx40
IDMx40
IDMx40

Table of Contents