EasyManua.ls Logo

THOMSON TS 910 - 15 Front Interior View (2 Pole 400 A Service Entrance Ats)

THOMSON TS 910
59 pages
Print Icon
To Next Page IconTo Next Page
To Next Page IconTo Next Page
To Previous Page IconTo Previous Page
To Previous Page IconTo Previous Page
Loading...
TS 910 TRANSFER SWITCH
PM140 REV 0 12/02/09 21 Thomson Technology
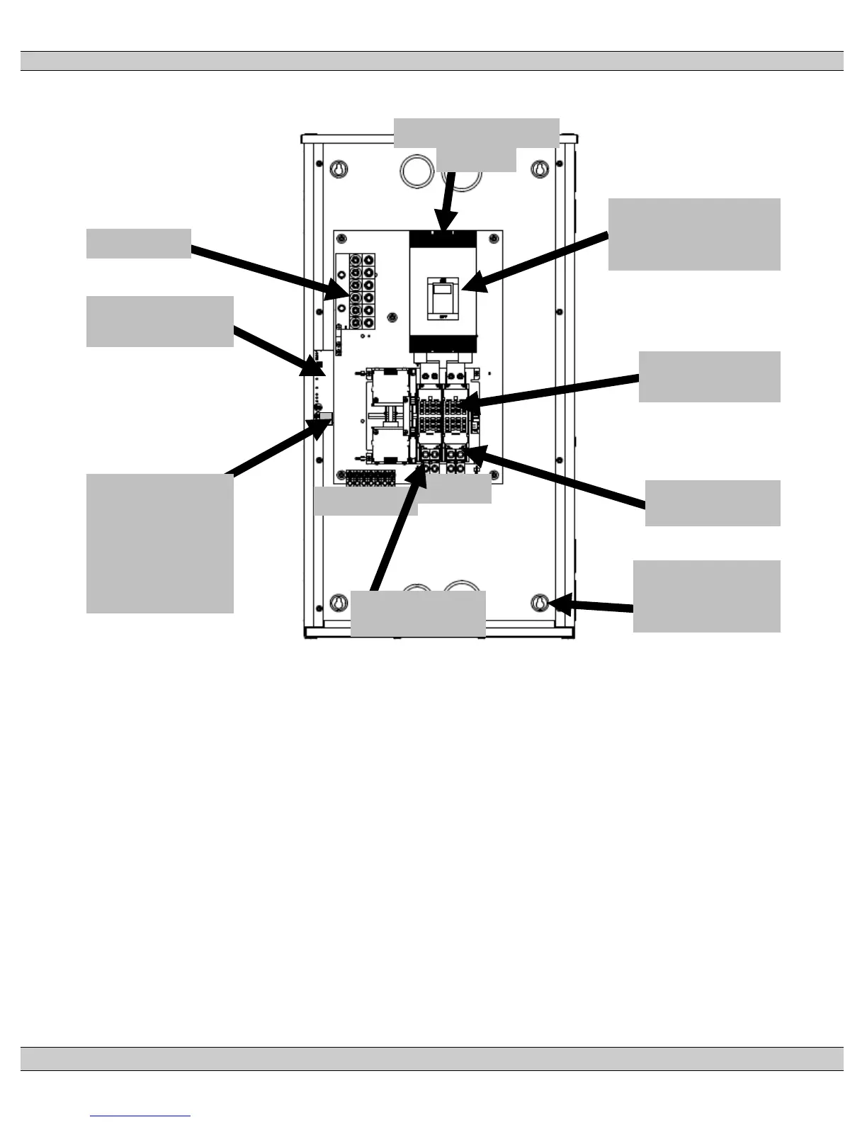
15. FRONT INTERIOR VIEW (2 POLE 400A SERVICE ENTRANCE ATS)
NEUTRAL
UTILITY SUPPLY
L1 L2
GEN SUPPLY
(TOP LUGS)
TSC 9
CONTROLLER
GROUND
L1 L2
LOAD
(BOTTOM LUGS)
CUSTOMER
CONTROL
CONNECTIONS:
GEN START
LOAD SHED
ALARM
REMOTE TEST
UTILITY SERVICE
DISCONNECT
BREAKER
TRANSFER
MECHANISM
ENCLOSURE
MOUNTING
HOLES (TYP 4)

Table of Contents

Related product manuals