EasyManua.ls Logo

Thrustmaster TSS HANDBRAKE - 2 Caratteristiche Tecniche

Thrustmaster TSS HANDBRAKE
631 pages
Print Icon
To Next Page IconTo Next Page
To Next Page IconTo Next Page
To Previous Page IconTo Previous Page
To Previous Page IconTo Previous Page
Loading...
6
2. Caratteristiche tecniche
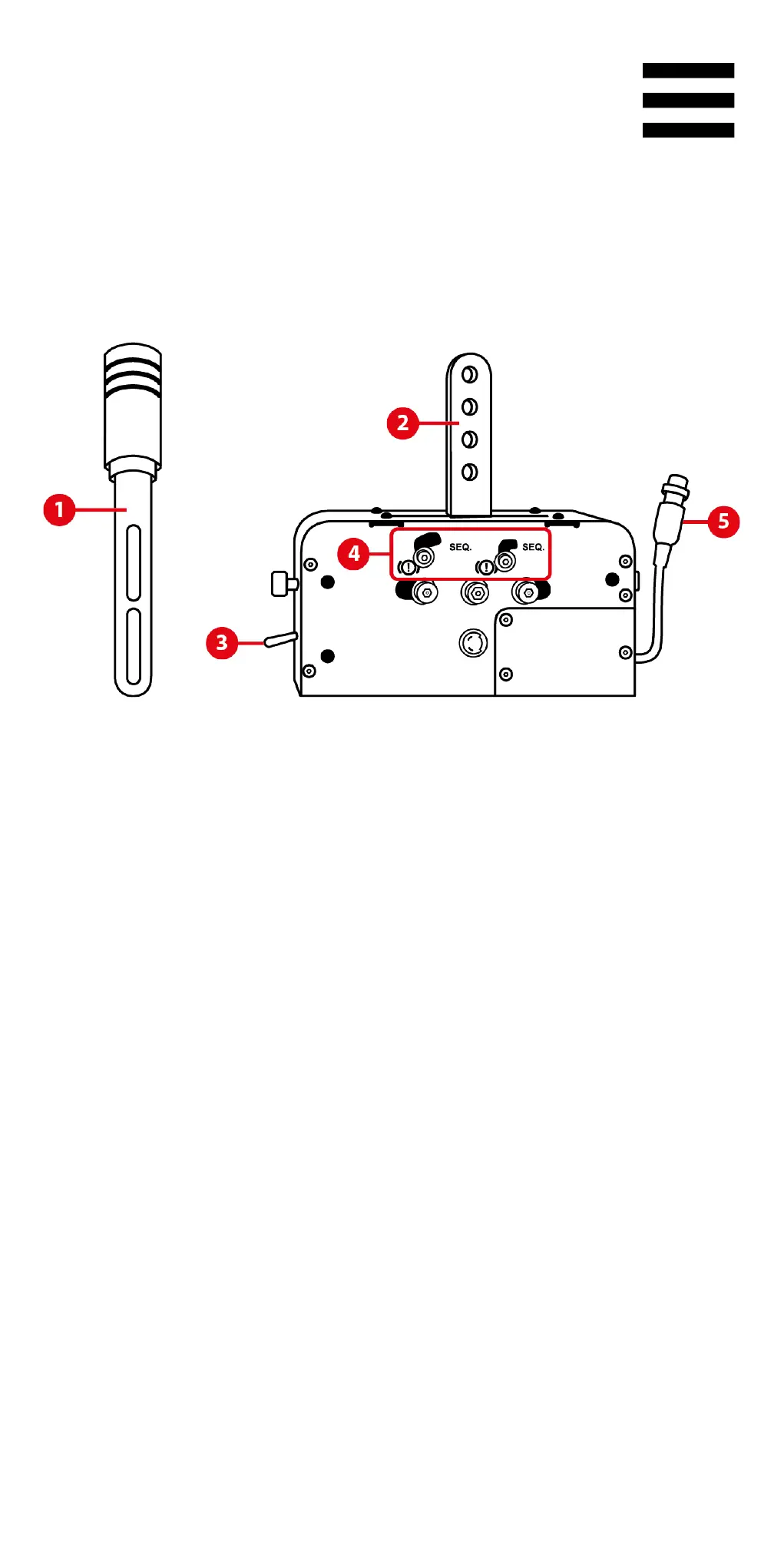
1. Leva rimuovibile (non installata di default)
2. Staffe per il fissaggio della leva
3. Selettore FRENO A MANO / CAMBIO
SEQUENZIALE
4. Sistema a selettore meccanico per scegliere tra la
modalità Freno a Mano e la modalità Cambio
Sequenziale
5. Cavo DIN e connettore femmina

Table of Contents

Related product manuals