EasyManua.ls Logo

Thrustmaster TSS HANDBRAKE - 2 Tekniska Delar

Thrustmaster TSS HANDBRAKE
631 pages
Print Icon
To Next Page IconTo Next Page
To Next Page IconTo Next Page
To Previous Page IconTo Previous Page
To Previous Page IconTo Previous Page
Loading...
6
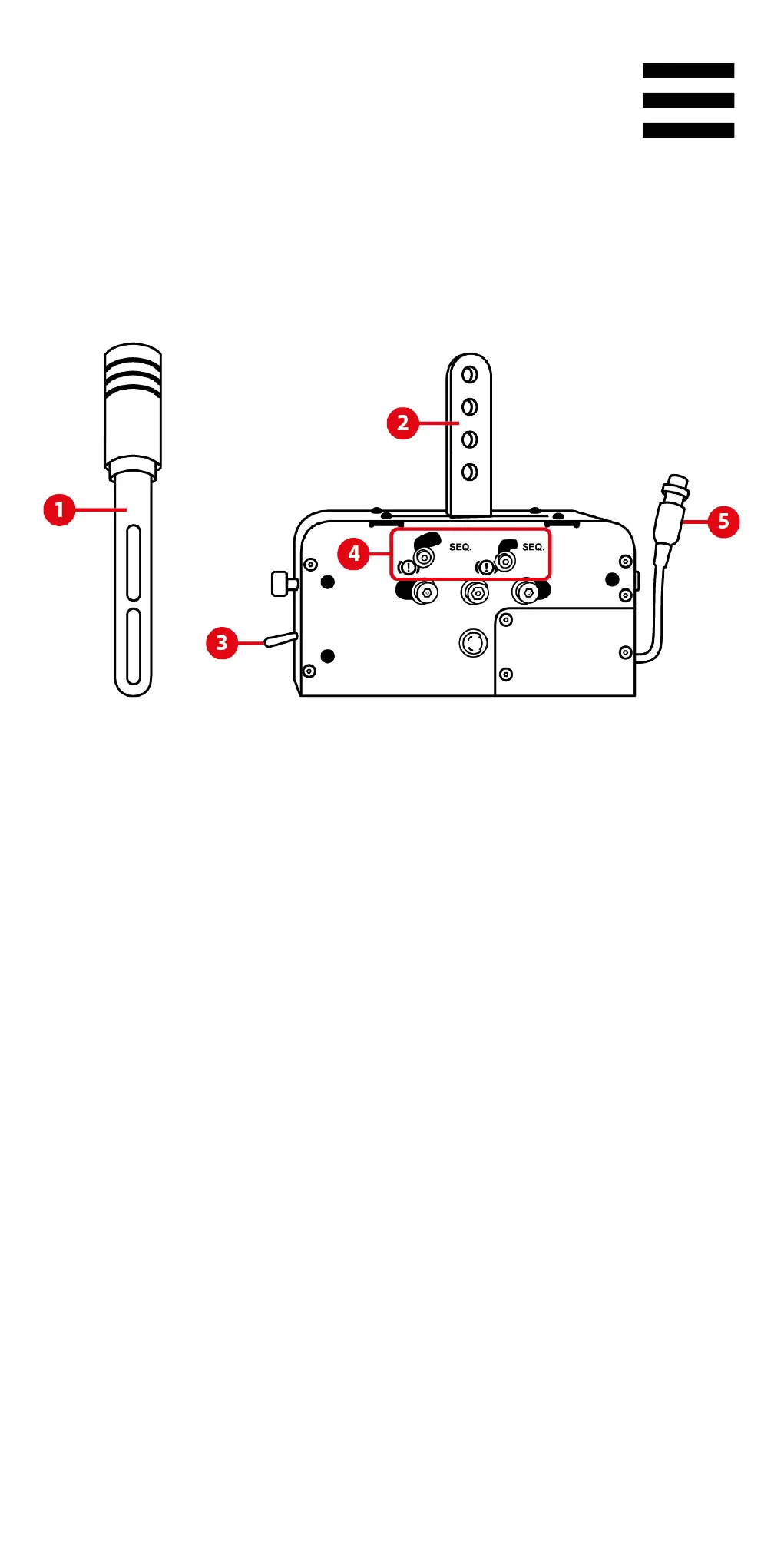
2. Tekniska delar
1. Löstagbar spak (ej installerad som standard)
2. Armar för montering av spaken
3. HANDBROMS/SEKVENTIELL VÄXELSPAK-
knapp
4. Mekaniskt system för att växla mellan
handbromsläget och det sekventiella
växelspaksläget
5. DIN-kabel och honkontakt

Table of Contents

Related product manuals