EasyManua.ls Logo

Thrustmaster TSS HANDBRAKE - 2 Технические Характеристики

Thrustmaster TSS HANDBRAKE
631 pages
Print Icon
To Next Page IconTo Next Page
To Next Page IconTo Next Page
To Previous Page IconTo Previous Page
To Previous Page IconTo Previous Page
Loading...
6
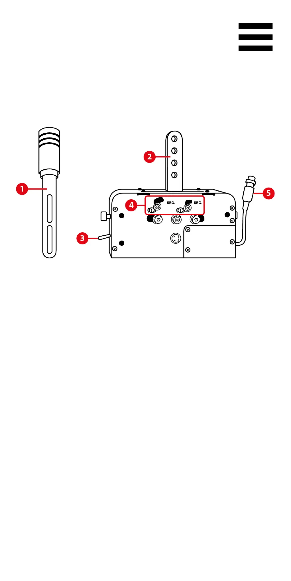
2. Технические характеристики
1. Съемный рычаг (по умолчанию не установлен)
2. Планки для крепления рычага
3. Селектор режима (РУЧНОЙ ТОРМОЗ или
ПОСЛЕДОВАТЕЛЬНЫЙ ПЕРЕКЛЮЧАТЕЛЬ
ПЕРЕДАЧ)
4. Механическая система переключения между
режимами ручного тормоза и
последовательного переключения передач
5. Кабель DIN с разъемом для подключения

Table of Contents

Related product manuals