EasyManua.ls Logo

Thrustmaster TSS HANDBRAKE - Tekniset Ominaisuudet

Thrustmaster TSS HANDBRAKE
631 pages
Print Icon
To Next Page IconTo Next Page
To Next Page IconTo Next Page
To Previous Page IconTo Previous Page
To Previous Page IconTo Previous Page
Loading...
6
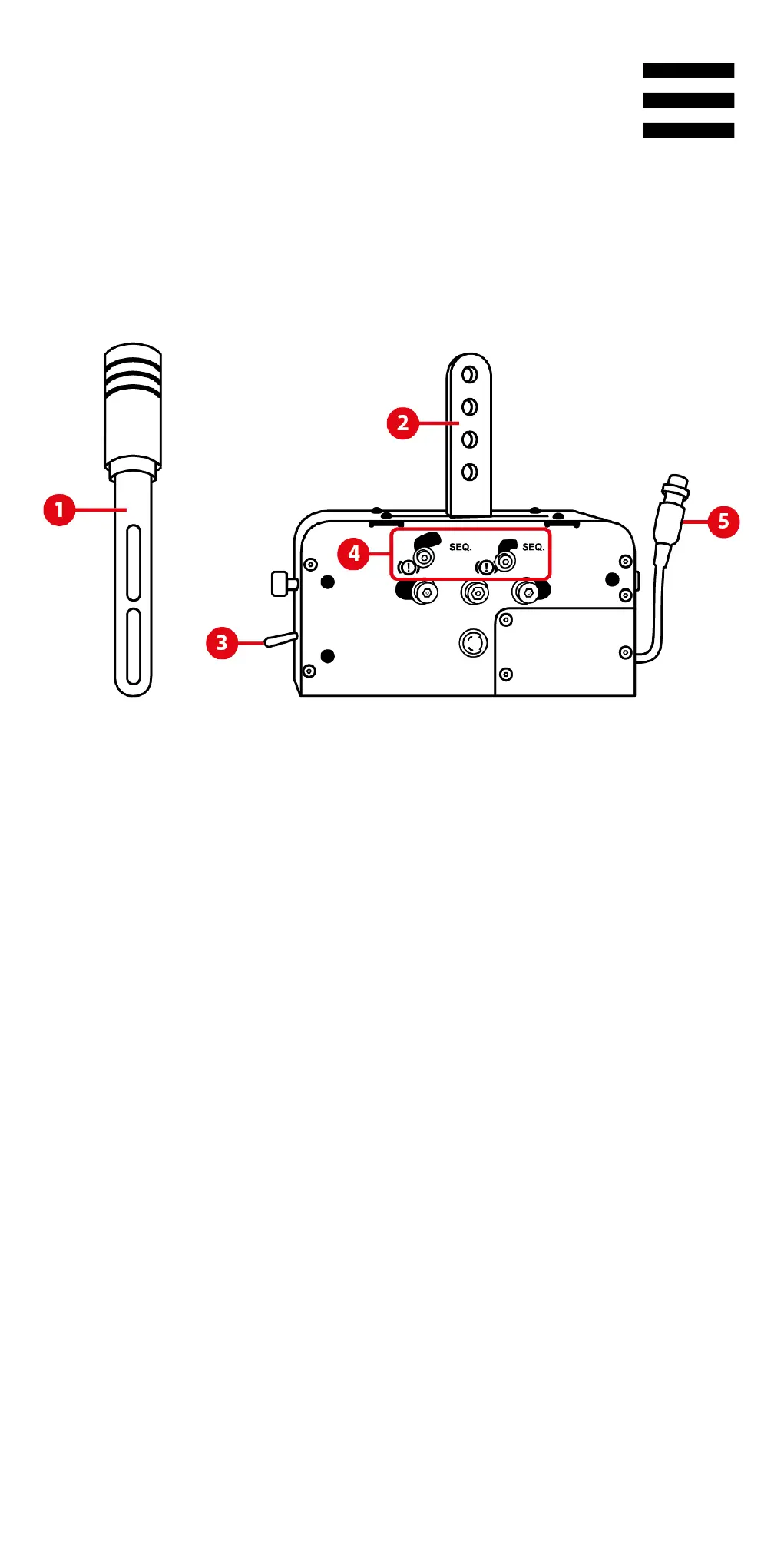
2. Tekniset ominaisuudet
1. Irrotettava vipu (ei valmiiksi asennettu)
2. Vivun liitinvarret
3. KÄSIJARRU/SEKVENTAALIVAIHDE-valitsin
4. Mekaaninen kytkinjärjestelmä käsijarru- ja
sekventaalivaihde-tilojen välillä vaihtamista varten
5. DIN-kaapeli ja naarasliitin

Table of Contents

Related product manuals