EasyManua.ls Logo

Thrustmaster TSS HANDBRAKE - 2 Technische Specificaties

Thrustmaster TSS HANDBRAKE
631 pages
Print Icon
To Next Page IconTo Next Page
To Next Page IconTo Next Page
To Previous Page IconTo Previous Page
To Previous Page IconTo Previous Page
Loading...
6
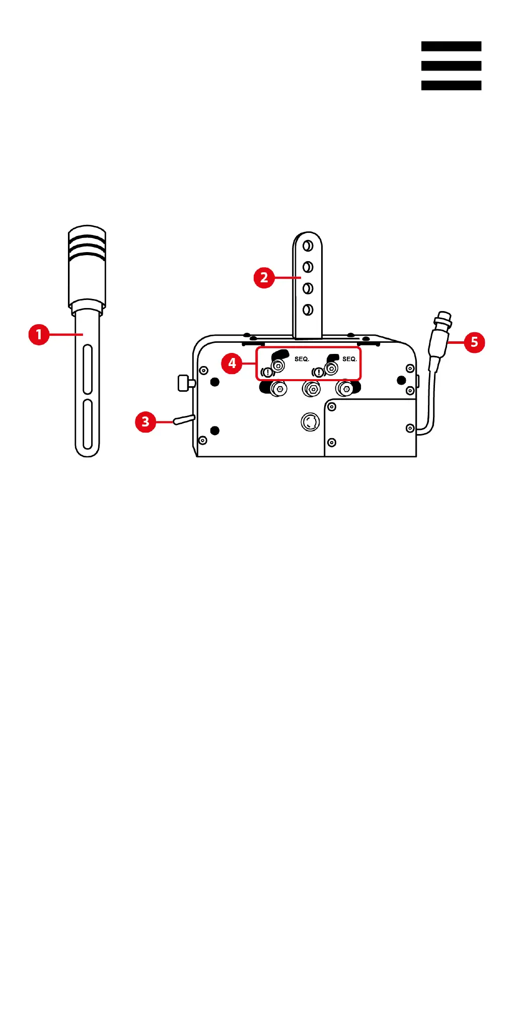
2. Technische specificaties
1. Afneembare hendel (standaard niet geïnstalleerd)
2. Armen voor bevestiging van hendel
3. Keuzeschakelaar HANDREM / SEQUENTIËLE
VERSNELLINGSPOOK
4. Mechanisch schakelsysteem voor wisselen tussen
modus Handrem en modus Sequentiële
versnellingspook
5. DIN-kabel en vrouwtjesconnector

Table of Contents

Related product manuals