EasyManua.ls Logo

Thrustmaster TSS HANDBRAKE - 技術特性

Thrustmaster TSS HANDBRAKE
631 pages
Print Icon
To Next Page IconTo Next Page
To Next Page IconTo Next Page
To Previous Page IconTo Previous Page
To Previous Page IconTo Previous Page
Loading...
6
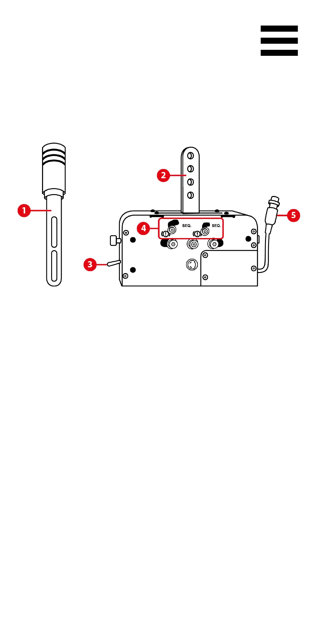
2. 技術特性
1. 可拆卸式變速桿(預設情況下未安裝)
2. 變速桿連接臂
3. 手煞 / 序列式變速器選取器
4. 機械切換系統(用於在手煞和序列式變速器模式之
間進行切換)
5. DIN 連接線和母接頭

Table of Contents

Related product manuals