EasyManua.ls Logo

Thrustmaster TSS HANDBRAKE - 2 Características Técnicas

Thrustmaster TSS HANDBRAKE
631 pages
Print Icon
To Next Page IconTo Next Page
To Next Page IconTo Next Page
To Previous Page IconTo Previous Page
To Previous Page IconTo Previous Page
Loading...
6
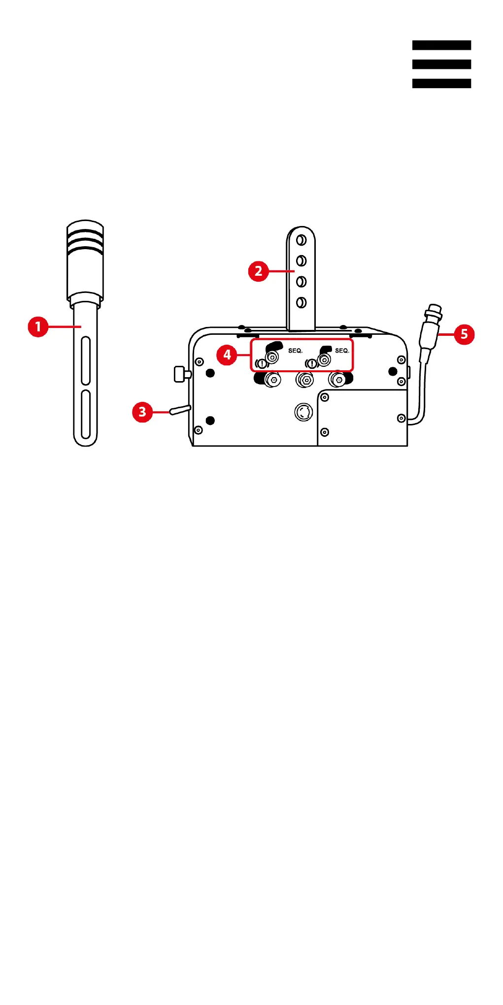
2. Características técnicas
1. Alavanca amovível (não instalada por predefinição)
2. Braços de fixação da alavanca
3. Seletor TRAVÃO DE MÃO / ALAVANCA DE
VELOCIDADES SEQUENCIAL
4. Sistema de comutação mecânica para alternar
entre os modos Travão de mão e Alavanca de
velocidades sequencial
5. Cabo DIN e conector fêmea

Table of Contents

Related product manuals