EasyManua.ls Logo

Thrustmaster TSS HANDBRAKE - 2 Funktionen

Thrustmaster TSS HANDBRAKE
631 pages
Print Icon
To Next Page IconTo Next Page
To Next Page IconTo Next Page
To Previous Page IconTo Previous Page
To Previous Page IconTo Previous Page
Loading...
6
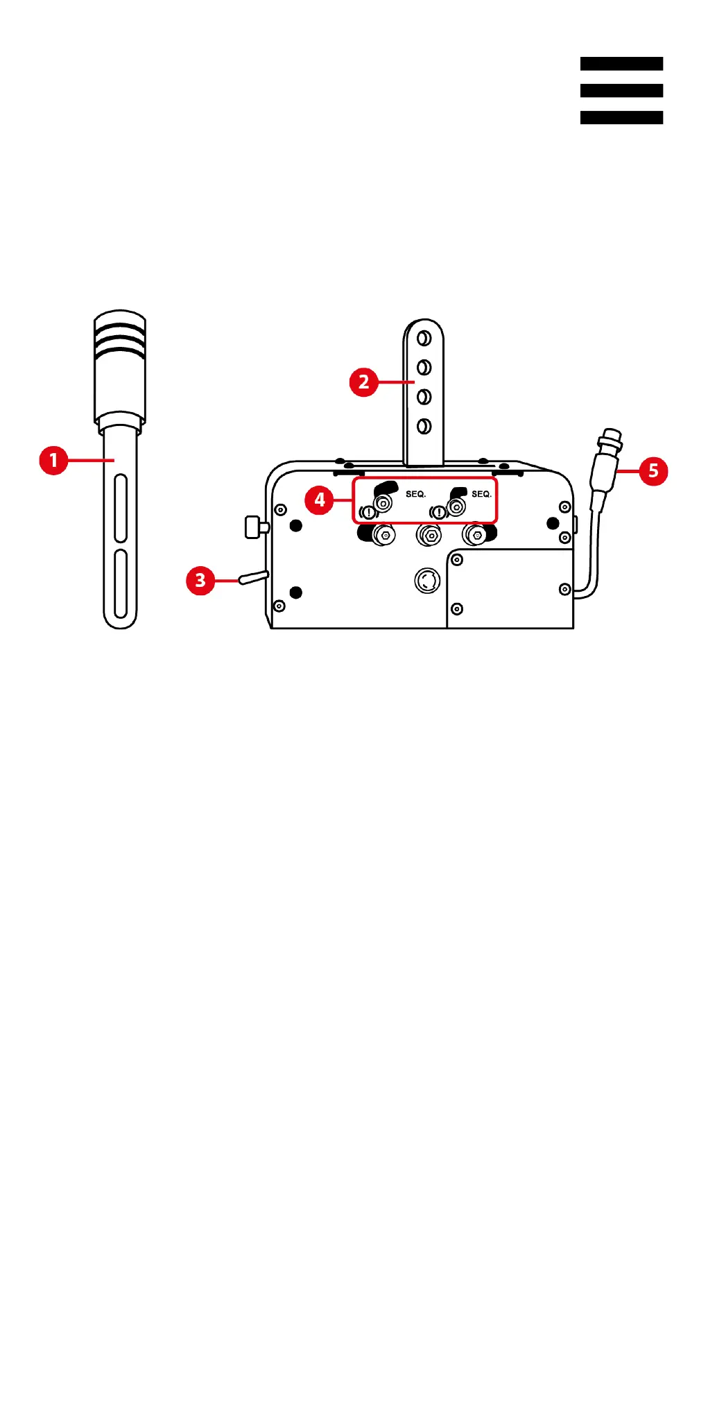
2. Funktionen
1. Abnehmbarer Hebel (standardmäßig nicht
installiert)
2. Befestigungsarme für den Hebel
3. Wählschalter für HANDBREMSE /
SEQUENZIELLE SCHALTUNG
4. Mechanisches Umschaltsystem zum Wechsel
zwischen den Modi Handbremse und sequenzielle
Schaltung
5. DIN-Kabel und Buchse

Table of Contents

Related product manuals