EasyManua.ls Logo

Thrustmaster TSS HANDBRAKE - 技术特性

Thrustmaster TSS HANDBRAKE
631 pages
Print Icon
To Next Page IconTo Next Page
To Next Page IconTo Next Page
To Previous Page IconTo Previous Page
To Previous Page IconTo Previous Page
Loading...
6
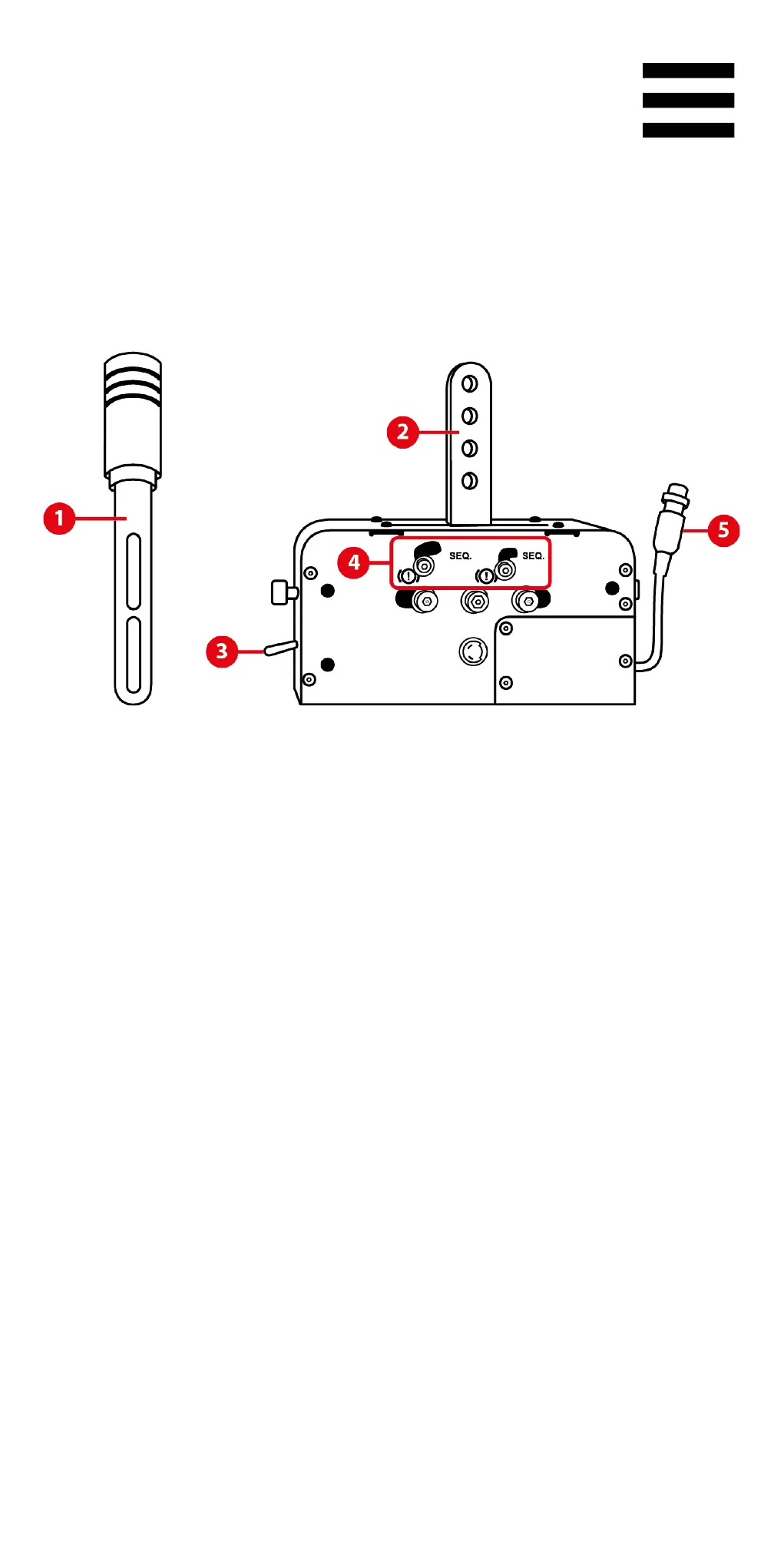
2. 技术特性
1. 可拆卸式变速杆(默认不安装)
2. 变速杆连接臂
3. 手刹 / 序列式变速器选择器
4. 机械切换系统(用于在手刹和序列式变速器模式之
间进行切换)
5. DIN 电缆和母接头

Table of Contents

Related product manuals