EasyManua.ls Logo

Thrustmaster TSS HANDBRAKE - 2 Características Técnicas

Thrustmaster TSS HANDBRAKE
631 pages
Print Icon
To Next Page IconTo Next Page
To Next Page IconTo Next Page
To Previous Page IconTo Previous Page
To Previous Page IconTo Previous Page
Loading...
6
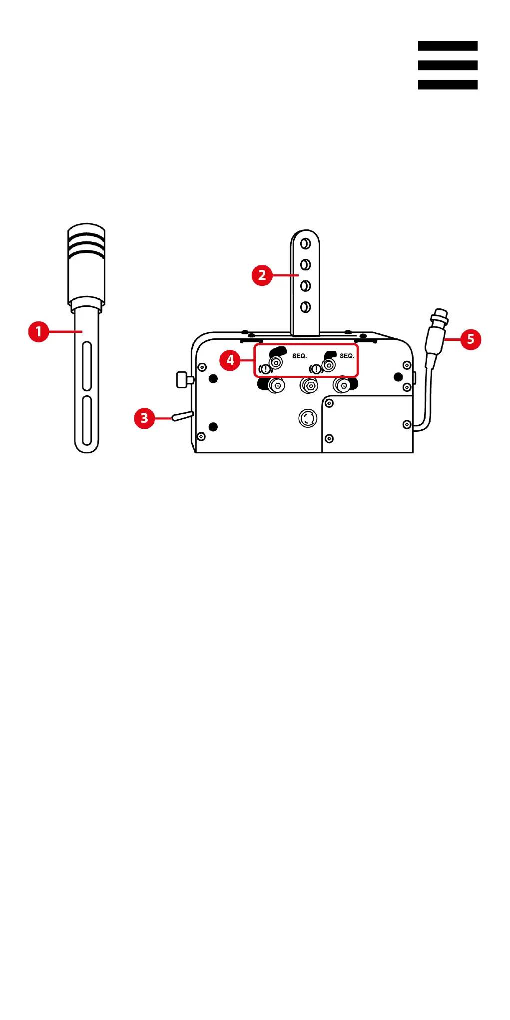
2. Características técnicas
1. Palanca desmontable (no está instalada de forma
predeterminada)
2. Brazos de fijación de la palanca
3. Selector de FRENO DE MANO / CAMBIO DE
MARCHAS SECUENCIAL
4. Sistema de conmutación mecánica para cambiar
entre los modos de Freno de mano y de Cambio de
marchas secuencial
5. Cable DIN y conector hembra

Table of Contents

Related product manuals