EasyManua.ls Logo

Thrustmaster TSS HANDBRAKE - 2 Technické Vlastnosti

Thrustmaster TSS HANDBRAKE
631 pages
Print Icon
To Next Page IconTo Next Page
To Next Page IconTo Next Page
To Previous Page IconTo Previous Page
To Previous Page IconTo Previous Page
Loading...
6
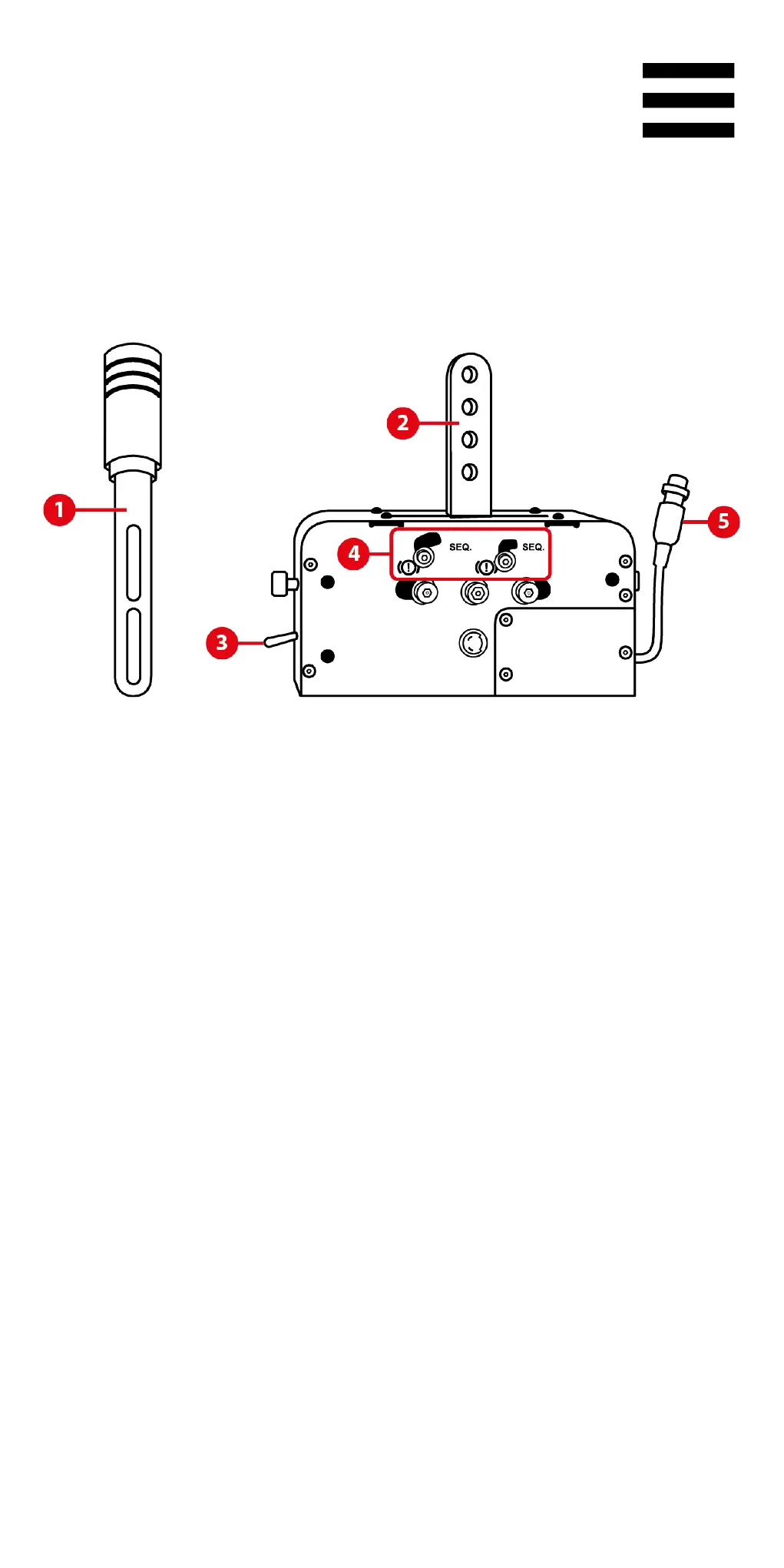
2. Technické vlastnosti
1. Odnímateľná páka (v predvolenom nastavení nie je
nainštalovaná)
2. Upevňovacie ramená páky
3. Prepínač RUČNÁ BRZDA / SEKVENČNÁ
RADIACA PÁKA
4. Mechanický prepínací systém na prepínanie medzi
režimami Rnej brzdy a Sekvenčnej radiacej páky
5. DIN kábel a zasúvací konektor

Table of Contents

Related product manuals