EasyManua.ls Logo

Thrustmaster TSS HANDBRAKE - Caractéristiques Techniques

Thrustmaster TSS HANDBRAKE
631 pages
Print Icon
To Next Page IconTo Next Page
To Next Page IconTo Next Page
To Previous Page IconTo Previous Page
To Previous Page IconTo Previous Page
Loading...
6
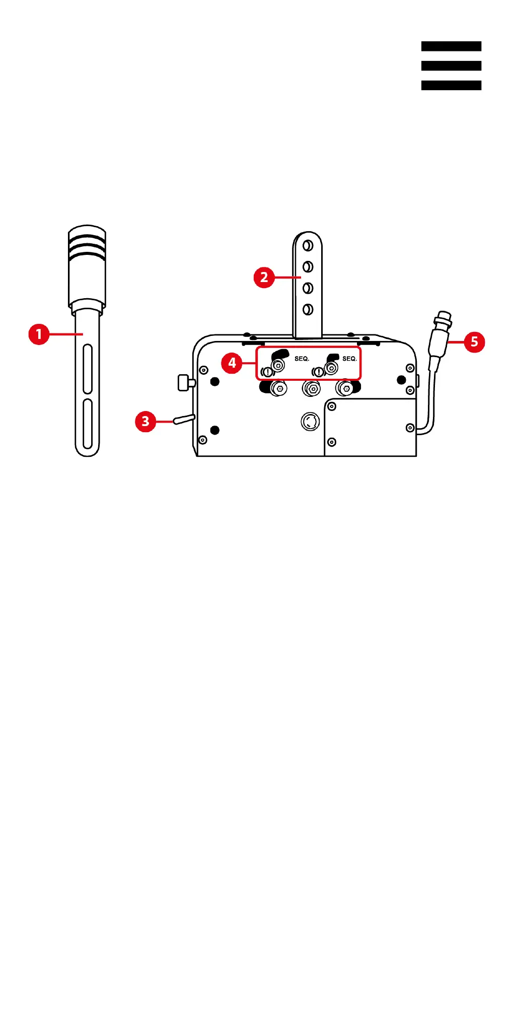
2. Caractéristiques techniques
1. Levier amovible (non installé par défaut)
2. Bras de fixation du levier
3. Sélecteur FREIN À MAIN / SÉQUENTIEL
4. Système mécanique pour basculer du mode Frein
à main au mode Séquentiel
5. Câble et connecteur DIN femelle

Table of Contents

Related product manuals