EasyManua.ls Logo

Thrustmaster TSS HANDBRAKE - Page 457

Thrustmaster TSS HANDBRAKE
631 pages
Print Icon
To Next Page IconTo Next Page
To Next Page IconTo Next Page
To Previous Page IconTo Previous Page
To Previous Page IconTo Previous Page
Loading...
6
2. תוינכט תונוכת
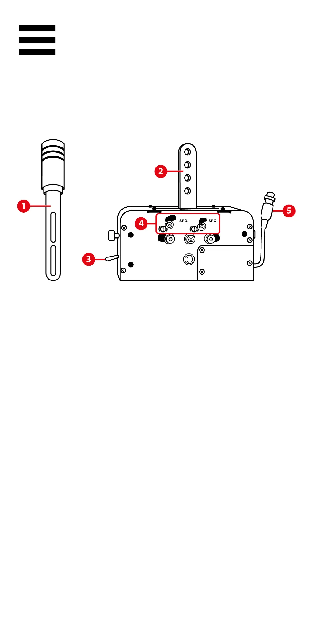
1. )לדחמ תרירבכ תנקתומ אל( תקתנתמ תידי
2. תידיה רוביח תועורז
3. םלב ןיב ררוב גתמ- טומל דיילאיסנווקיסה םיכוליהה
4. םלב' םיבצמה ןיב רבעמל תינכמ גתמ תכרעמ- טומ'וי
'ילאיסנווקיס םיכוליה
5. לבכDIN יבקנ רבחמו

Table of Contents

Related product manuals