EasyManua.ls Logo

Thrustmaster TSS HANDBRAKE - Page 607

Thrustmaster TSS HANDBRAKE
631 pages
Print Icon
To Next Page IconTo Next Page
To Next Page IconTo Next Page
To Previous Page IconTo Previous Page
To Previous Page IconTo Previous Page
Loading...
6
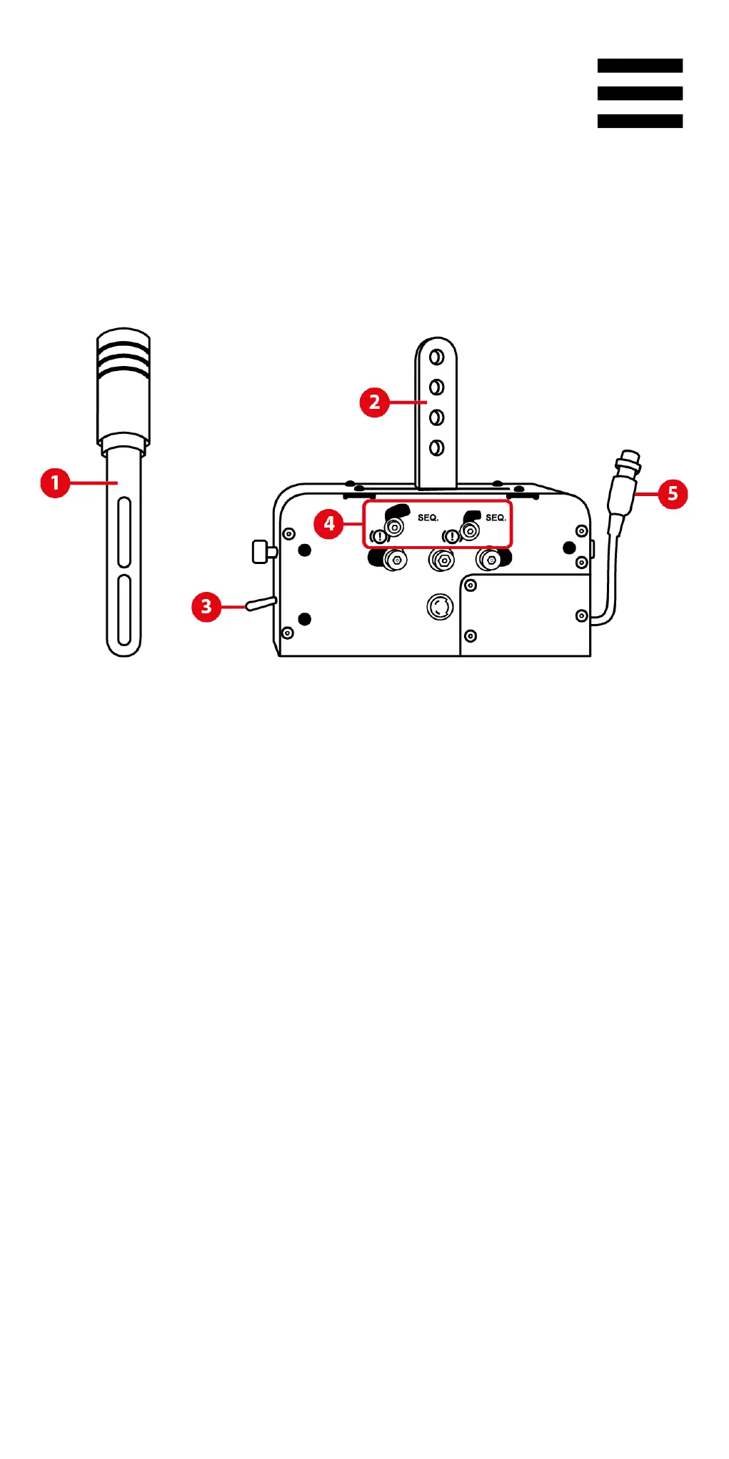
2. 기술적 특징
1. 탈착식 레버(미설치 상태)
2. 레버 부착
3. 핸드브레이크/시퀀셜 시프터 셀렉터
4. 핸드브레이크와 시퀀셜 시프터 모드 사이를
전환해주는 기계식 전환 시스템
5. DIN 케이블 암커넥터

Table of Contents

Related product manuals