EasyManua.ls Logo

Toa MM-700F - 14 Block Diagrams

Toa MM-700F
36 pages
Print Icon
To Next Page IconTo Next Page
To Next Page IconTo Next Page
To Previous Page IconTo Previous Page
To Previous Page IconTo Previous Page
Loading...
30
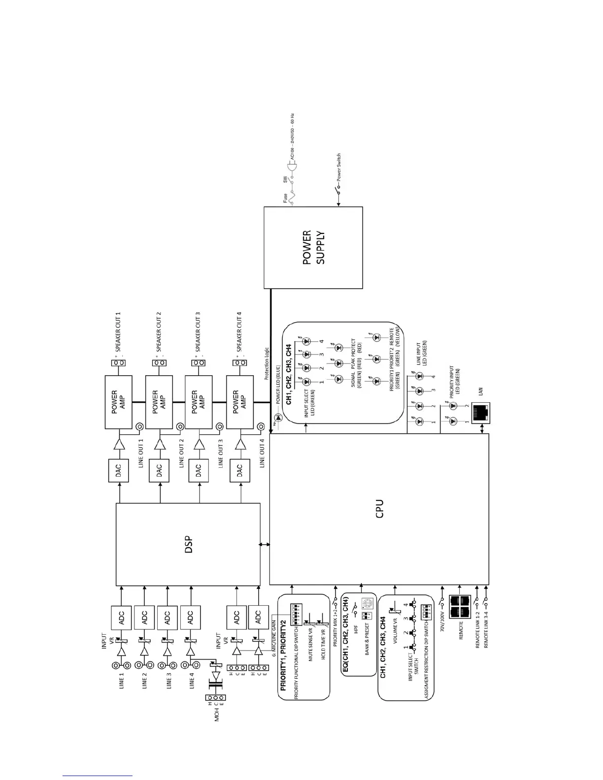
14. BLOCK DIAGRAMS
MA-725F

Other manuals for Toa MM-700F

Related product manuals