EasyManua.ls Logo

Toro 34230 - Jump-Starting the Machine

Toro 34230
88 pages
Print Icon
To Next Page IconTo Next Page
To Next Page IconTo Next Page
To Previous Page IconTo Previous Page
To Previous Page IconTo Previous Page
Loading...
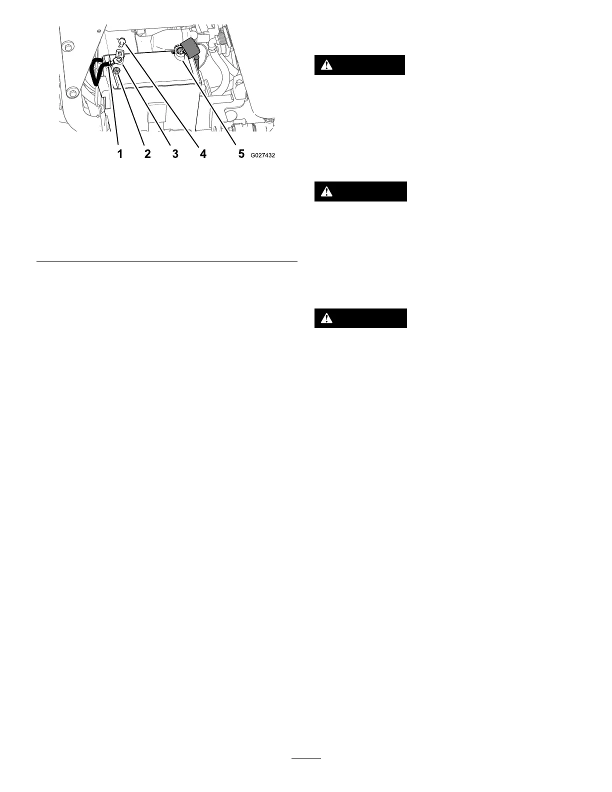
g027432
Figure89
1.Negativebattery-cable
cover(black)
4.Flangedbolt
2.Flangednut
5.Positive(+)battery
terminal
3.Negative(-)battery
terminal
4.Slidethered-terminalcoveroffthepositive
batteryterminal(Figure89).
5.Removethehex-angedboltandangednut
fromthepositive(red)batterycableandthe
positive(+)batteryterminal,andremovethe
cablefromthebattery(Figure89).
6.Removethebatteryandbatteryboxfromthe
batterytrayofthemachine.
InstallingtheBattery
1.Placethebatteryintothebatterybox.
2.Positionthebatteryandbatteryboxontothe
batterytrayofthemachine.
3.Installthepositive(red)batterycabletopositive
(+)batteryterminalwithaangedboltand
angednut(Figure89).
4.Slidetheredterminalcoveroverthepositive
batteryterminal.
5.Installthenegativebatterycabletothenegative
(-)batteryterminalwithaangedboltand
angednut(Figure89).
6.Alignthebatterycovertothebatteryboxand
securethecoverandboxtothebatterytraywith
thebatterystrap(Figure87).
Jump-StartingtheMachine
DANGER
Jump-startingabatterythatiscracked,frozen,
haslowelectrolytelevel,oranopen/shorted
batterycellcancauseanexplosion,resulting
inseriouspersonalinjury.
Donotjump-startabatteryiftheseconditions
exist;replacethebattery.
CAUTION
Corrosionorlooseconnectionscancause
unwantedelectricalvoltagespikesatanytime
duringthejump-startingprocedure.
Donotattempttojumpstartamachine
withlooseorcorrodedbatteryterminals,or
damagetotheenginecanoccur.
CAUTION
Connectingthejumpercablesincorrectlycan
immediatelydamagetheelectricalsystem.
Becertainofthebattery-terminalpolarityand
thejumper-cablepolaritywhenconnectingto
thebattery.
Important:Besurethatthevehiclesdonottouch
andthatbothelectricalsystemsareoffandatthe
sameratedsystemvoltage.Theseinstructions
arefornegative-groundsystemsonly.
Important:Usetheproperlysizedjumpercables
(4to6AWG)withshortlengthstoreducethe
voltagedropbetweensystems.Ensurethatthe
cablesarecolorcodedorlabeledforthecorrect
polarity.
1.Checkthebatteryterminalsofthedischarged
batteryandtheboosterbatteryforcorrosion
(white,green,orblue“snow”).
Note:Cleanthecorrosionfromthebattery
terminalspriortojumpstarting.Tightenthe
batterycableconnectionsasnecessary.
2.Ensurethattheboosterisa12Vbatterywith
asufcientampratingthatisingoodcondition
andfullycharged.
Note:Ensurethattheventcapsaretightand
level.Ifavailable,placeadampclothoverany
ventcapsonbothbatteries.
3.Connectthepositive(+)cableclamp(red)tothe
positive(+)terminalofthedischargedbattery
(Figure90).
66

Table of Contents

Related product manuals