EasyManua.ls Logo

Toro TX 1000 - Page 42

Toro TX 1000
60 pages
Print Icon
To Next Page IconTo Next Page
To Next Page IconTo Next Page
To Previous Page IconTo Previous Page
To Previous Page IconTo Previous Page
Loading...
24.Drivethemachine,thenparkthemachineona
levelsurface,engagetheparkingbrake,shutoff
theengine,andremovethekey.
25.Verifythatthetrackdeectionis12.7mm(1/2
inch)asshowninFigure56.
MachineswithWide-WidthTracks
Replacethetrackswhentheyarebadlyworn.
1.Parkthemachineonalevelsurface,engagethe
parkingbrake,andlowertheloaderarms.
2.Shutofftheengineandremovethekey.
3.Lift/supportthesideoftheunittobeworkedon
sothatthetrackis7.6to10cm(3to4inches)
offtheground.
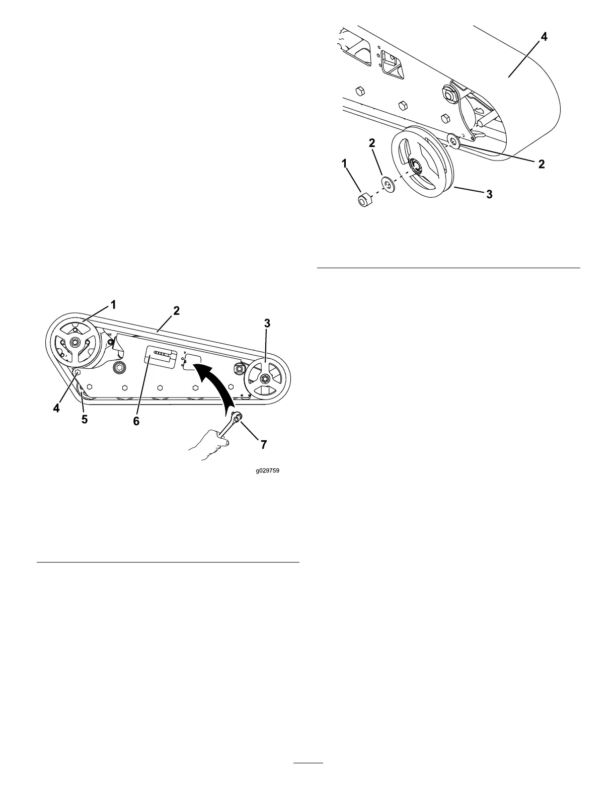
4.Removethelockingboltandnut(Figure59).
5.Usinga1/2-inchdriveratchet,releasethe
drivetensionbyturningthetensioningscrew
clockwise(Figure59andFigure65).
g029759
Figure65
1.Drivesprocket5.Roadwheel
2.Track6.Pivottensioner
3.Frontwheel
7.Ratchet(1/2inch)
4.Rearbolt
6.Loosentherearbolt,nearthedrivewheel
(Figure65).
7.Removethenutsecuringtheouterfrontwheel
andremovethewheel(Figure66).
g217640
Figure66
1.Nut
3.Outerfrontwheel
2.Washer4.Track
8.Removethetrack(Figure66).
9.Pullthe2largewashersoutoftheouterwheels,
1oneachsideofeachwheel(Figure66).
10.Cleantheoldgreaseanddirtoutofthearea
betweenwherethewasherswereinstalledand
thebearingsinsidethewheels,thenllthisarea
oneachsideofeachwheelwithgrease.
11.Installthelargewashersonthewheelsoverthe
grease.
12.Installthenewtrack.(Figure66).
Note:Ensurethatthelugsinthetrackt
betweenthespacersinthemiddleofthedrive
sprocket.
13.Installtheouterfrontwheelandsecureitwith
thenutremovedpreviously(Figure66).
14.Torquethenutto300ft-lb(407N∙m).
15.Turnthetensioningscrewcounter-clockwise
untilthetensioningscrewbottomsout(Figure
67).
42

Table of Contents

Other manuals for Toro TX 1000

Related product manuals