EasyManua.ls Logo

TYM ET350 ECONO - Page 52

TYM ET350 ECONO
175 pages
Print Icon
To Next Page IconTo Next Page
To Next Page IconTo Next Page
To Previous Page IconTo Previous Page
To Previous Page IconTo Previous Page
Loading...
45
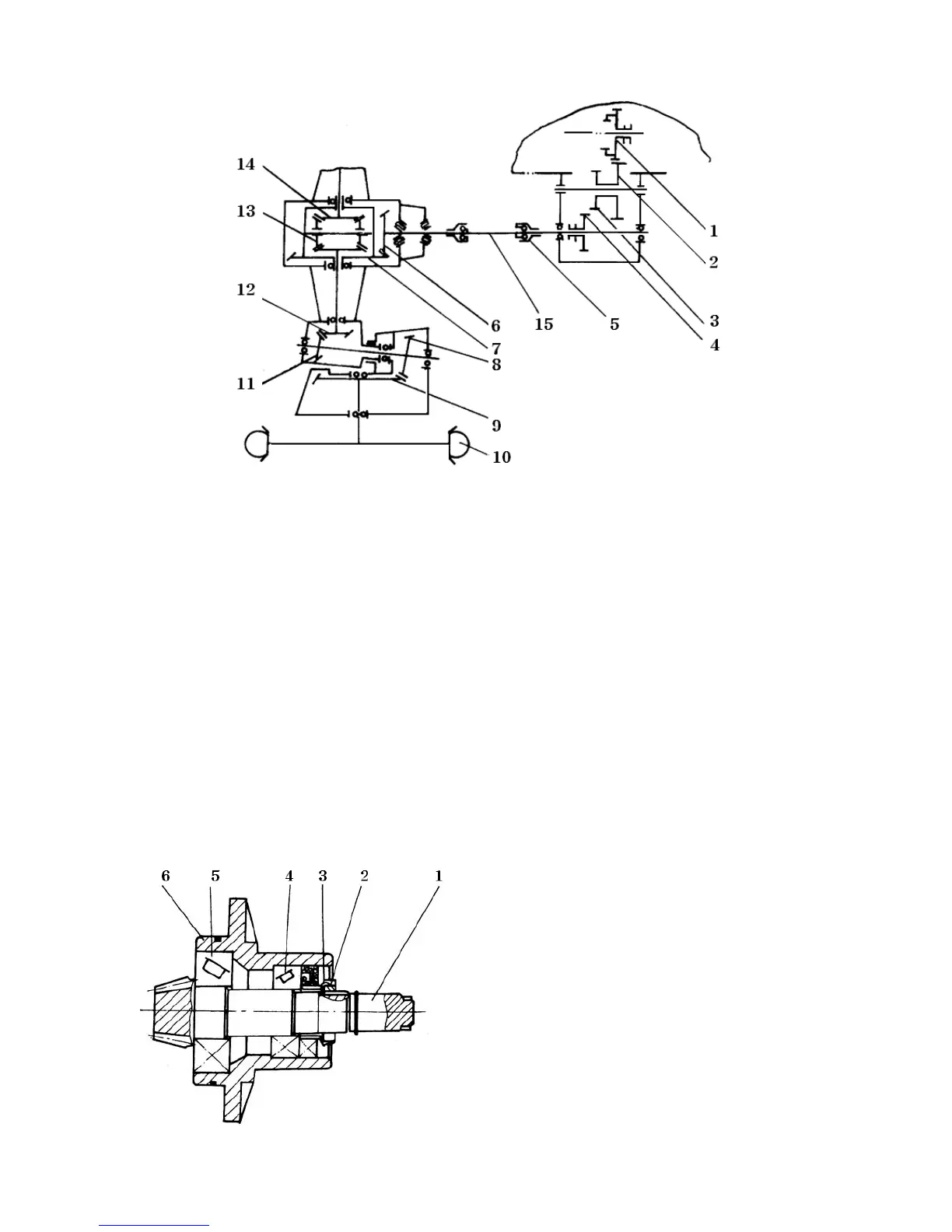
Fig. 5-16 Drive system of front axle
1. Former high-low sliding gear 2/3. Intermediate gear 4. Output slider gear
5. Ball-shape joint sleeve 6. Front center drive gear 6. Front central drive, follower gear
8. Two-stage drive gear , front side drive 9. Two-stage follower gear, front side drive
10. Front wheel 11. Two stage follower gear, front side drive
12. One –stage drive gear , front side drive 13. Planet gear, front axle
14. Front semi-shaft gear 15. Transmission shaft
The power of front drive is passed on firstly to transmission shaft from high-low sliding gear of
transmission housing to intermediate gear and output gear of transfer case, secondly passed on to
the front drive shaft to run the front wheels from the transmission via the spiral bevel gear of front
central drive and two-stage bevel gear.
(2) The bearing preloading of front drive conical gear is shown in Fig. 5-17
Fig. 5-17 Front central drive conical gear assy
1.Front central drive gear
2.Round nut
3.Thrust washer
4.Model 7206 bearing
5.Model 27307 bearing
6.Housing

Table of Contents

Related product manuals