EasyManua.ls Logo

Valor Fires 942 - Page 27

Valor Fires 942
60 pages
Print Icon
To Next Page IconTo Next Page
To Next Page IconTo Next Page
To Previous Page IconTo Previous Page
To Previous Page IconTo Previous Page
Loading...
insert the hotbox into the
fireplace feeding the supply pipe
through the pierced hole in the
rear grommet.
5. The hotbox has two holes at
each side of the spillage plate.
Insert one end of each cable
(one cable each side) from the
back through the lower of the
two holes and return the end
through the upper of the holes
(See figure 19). Give the cables
a pull so that they grip against
the hotbox flanges.
Page 27
© Baxi Heating U.K. Limited 2009.
INSTALLER GUIDE
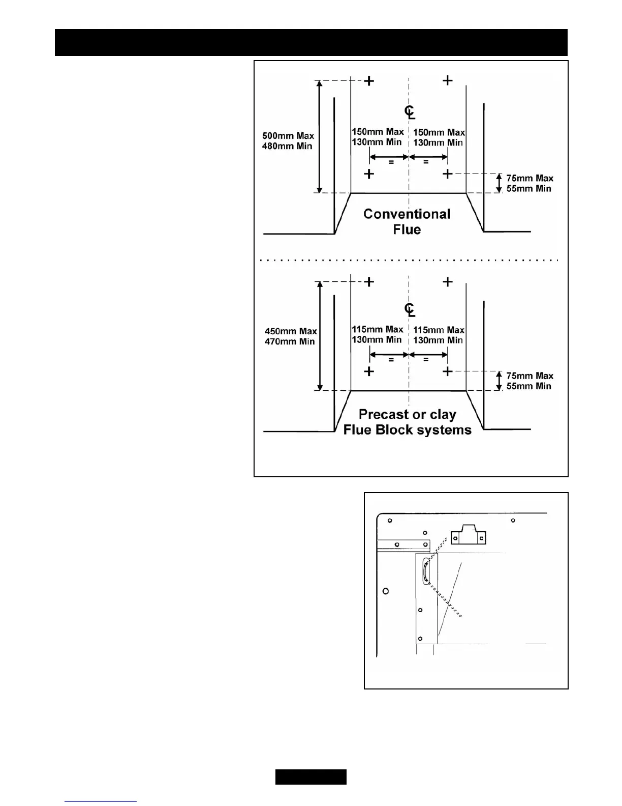
Figure 18. Eyebolt positions
Figure 19. Upper cable retention

Table of Contents

Related product manuals