EasyManua.ls Logo

Vendo V21 - Page 77

Vendo V21
93 pages
Print Icon
To Next Page IconTo Next Page
To Next Page IconTo Next Page
To Previous Page IconTo Previous Page
To Previous Page IconTo Previous Page
Loading...
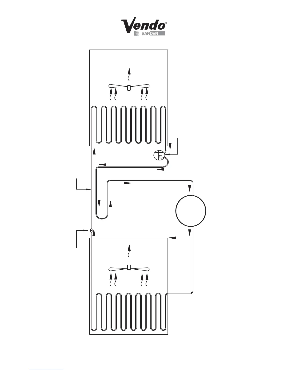
M-6
Part #1169256 09/2008
DISCHARGE
SIDE
VAPOR
HIGH PRESSURE
COMPRESSOR
SUCTION
50°
110°
VAPOR
CONDENSER
FAN
LIQUID
DRIER
LIQUID
CONDENSER
ACCUMULATOR
EVAPORATOR
LOW PRESSURE
CAPILLARY RESTRICTION TUBE
EVAPORATOR
FAN
FIGURE 1

Related product manuals