EasyManua.ls Logo

Ventis HE250 - Chimney Support Installation; Universal Roof Support; Universal Offset Support; Installation Instructions for Masonry Application

Ventis HE250
91 pages
Print Icon
To Next Page IconTo Next Page
To Next Page IconTo Next Page
To Previous Page IconTo Previous Page
To Previous Page IconTo Previous Page
Loading...
HE250 - Installation and Operation Manual 57
8.7 Angled Wall Radiation Shield
When passing through a combustible wall with the chimney at a 30° or 45° angle (30° or 45° in Canada and
30° only in the USA), an angled firestop or wall radiation shield provided by the chimney manufacturer must
be installed. Only one is required. Follow the chimney manufacturer’s installation instructions.
In cold climate locations, it is recommended that you use the insulated wall radiation shield since it will
maintain the home’s thermal barrier.
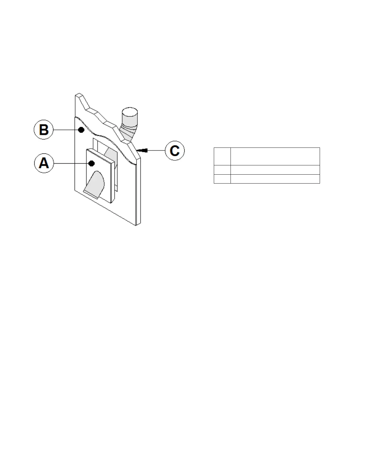
A
INSULATED WALL
RADIATION SHIELD
B
GYPROCK
C
INSULATED WALL
8.8 Chimney Support Installation
8.8.1 Universal Roof Support
This support has three possible uses:
1. It must be used on a roof to support the chimney.
2. It may be used on a floor, ceiling or roof above an offset to support the chimney above the offset.
3. It may be used on a floor, ceiling or roof as a supplementary support.
For roof support installation, refer to the instructions provided with the support by Olympia Chimney who
provide the maximum height of chimney that can be supported by the support. Make sure you respect
those parameters.
8.8.2 Universal Offset Support
This support is used to support the chimney above an offset. When the chimney offset is used to pass
through a wall, this support may be used on the wall to support the chimney. For offset support installation,
refer to the instructions provided with the support by the chimney manufacturer. Many manufacturers will
provide the maximum height of chimney that can be supported by the support. Make sure you respect
those parameters.

Table of Contents

Related product manuals