EasyManua.ls Logo

Vinten 3702 - Head Mounting Platform; Pneumatic System

Vinten 3702
84 pages
Print Icon
To Next Page IconTo Next Page
To Next Page IconTo Next Page
To Previous Page IconTo Previous Page
To Previous Page IconTo Previous Page
Loading...
18
Contents
Previous
Page
First
Page
Next
Page
Previous
View
Head Mounting Platform
19 The platform consists of a contoured alloy casting attached to the upper stage of the telescopic column.
On the top of the platform provision is made for mounting a pan and tilt head (2). On the underside of the
platform there are six eccentric shafts carrying nylon rollers which locate the steering ring around the column.
The steering mechanism upper section is also fitted to the underside of the head mounting platform as are the
brackets and spigots of the locking bar assembly together with the rubber stops.
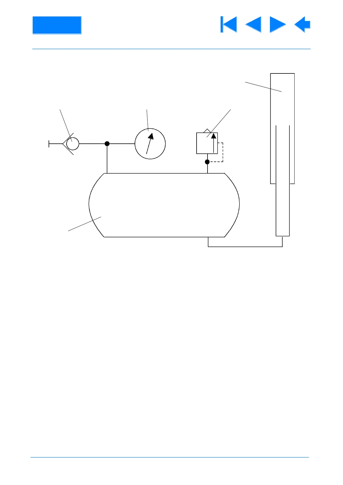
Pneumatic System
20 The pneumatic system (Fig 1.2) consists of the pressure tank, the manifold and the two-stage ram. A
Schrader-type charging valve and pressure gauge are connected to the top face of the pressure tank by a
banjo assembly. A safety valve is screwed into a boss in the side of the tank.
Fig 1.2 Pneumatic system - schematic diagram
Charging
Valve
Pressure
Gauge
Safety
Valve
Pressure
Tank
Two-stage
Ram

Table of Contents

Related product manuals