EasyManua.ls Logo

Vmac VR70 - Page 46

Vmac VR70
80 pages
Print Icon
To Next Page IconTo Next Page
To Next Page IconTo Next Page
To Previous Page IconTo Previous Page
To Previous Page IconTo Previous Page
Loading...
VMAC Vehicle Mounted Air Compressors
Toll Free: 1-888-241-2289
Fax: 1-250-740-3201
44
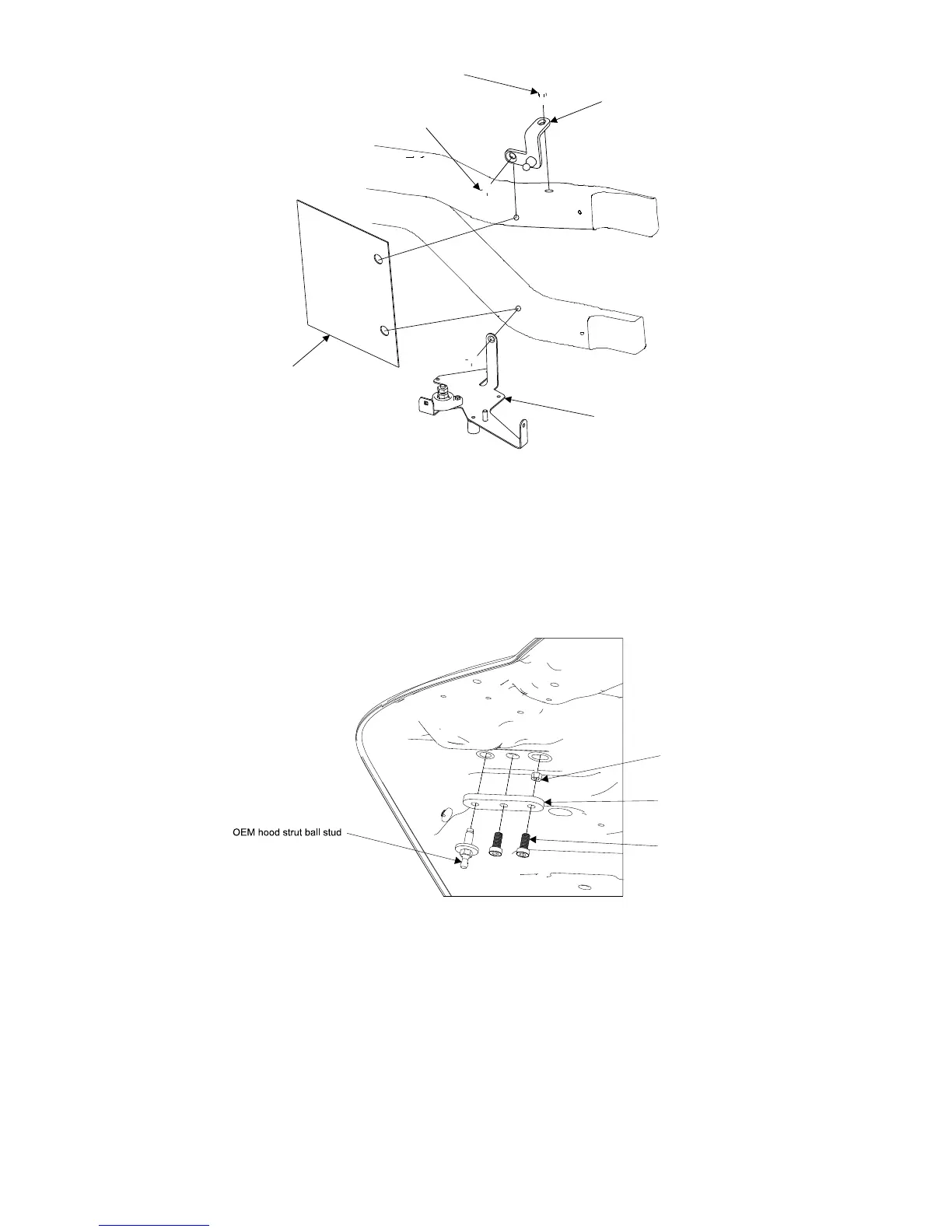
Lower Hood Strut
Relocating Bracket
M8 x 16 Hexhead Bolt
M8 x 20 Flathead Bolt
Glow Plug Module
UHMW Guard Pad
Figure 3.34
Remove hood strut ball stud from passenger side of hood and
install into strut relocating bracket, (Figure 3.35). Install
relocating bracket with supplied fasteners as shown. Note the
8mm hex nut may need to be oriented to fit in the slot in hood.
M8 nut
M8 x 18mm bolts
Relocation Bracket
Figure 3.35
Reinstall passenger side hood strut.
Remove the ground wire bolt from the firewall, (Figure 3.36).

Other manuals for Vmac VR70

Related product manuals