EasyManua.ls Logo

Wacker Neuson RD 24 - Danger Zone

Wacker Neuson RD 24
157 pages
Print Icon
To Next Page IconTo Next Page
To Next Page IconTo Next Page
To Previous Page IconTo Previous Page
To Previous Page IconTo Previous Page
Loading...
Foreword
Danger zone
26
BA RD24_RD28 en us 06
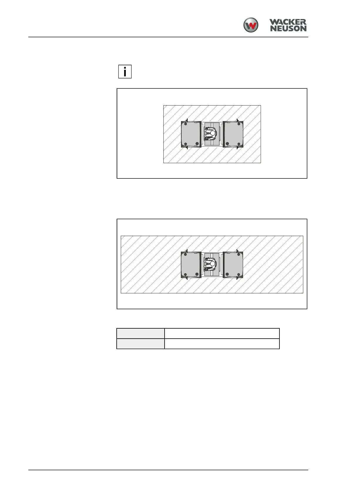
1.09 Danger zone
NOTE
The machine's danger zone is divided into the areas inactive
and moving.
Zone "inactive"
15272
If the machine is at a standstill and the diesel engine is switches off, the
danger zone is defined as the area within 1 metre from the machine. No
entry is allowed to the danger zone unless to operating personnel.
Zone "moving"
10197
For a moving machine the danger zone is defined as follows:
13 metres
In front of and in the rear of the machine
3 metres
To the left and right of the machine
During compaction and transport works no persons are allowed to be
within the danger zone.

Table of Contents

Related product manuals