EasyManua.ls Logo

Water Process Solutions Encore 700 - Page 75

Water Process Solutions Encore 700
128 pages
Print Icon
To Next Page IconTo Next Page
To Next Page IconTo Next Page
To Previous Page IconTo Previous Page
To Previous Page IconTo Previous Page
Loading...
ENCORE
®
700 METERING PUMP
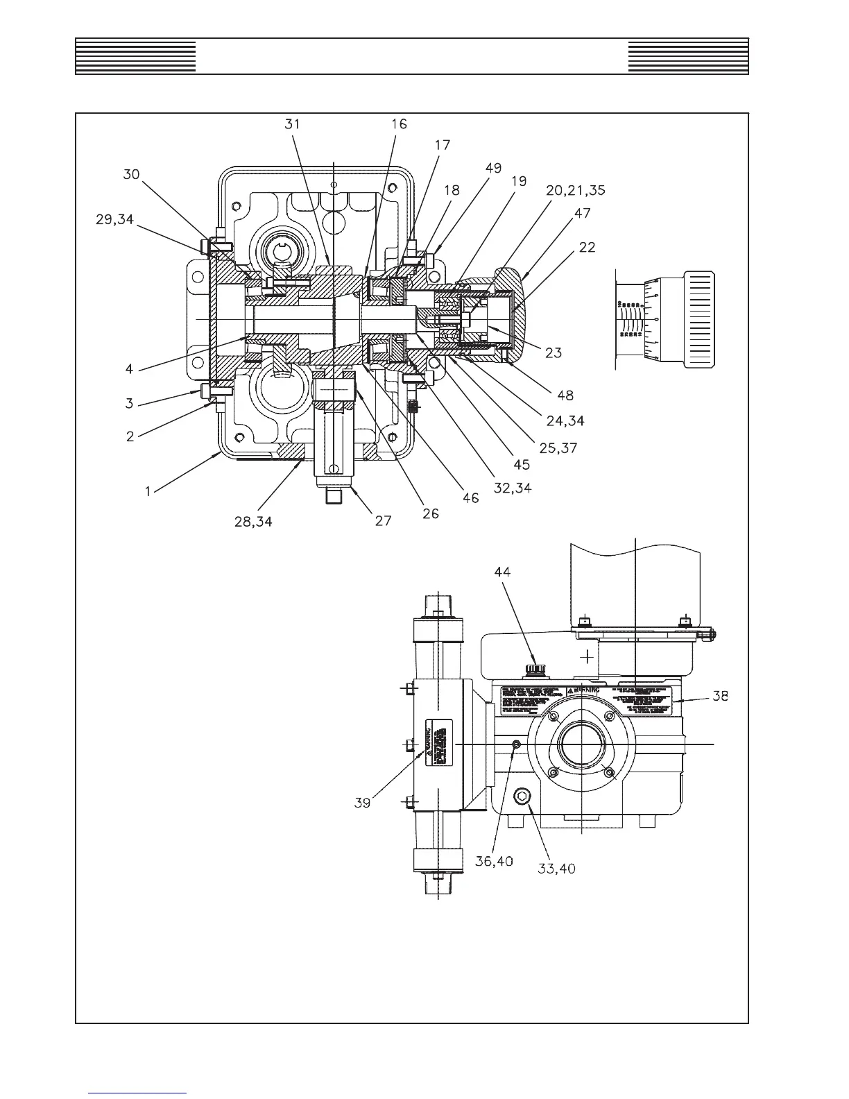
NOTE: FOR PARTS LIST SEE DWGS. 440.400.000.010C&D.
ANM4784 ENCORE
®
700 METERING PUMP - PARTS
Simplex Gearbox Assembly
440.400.000.010B
ISSUE 3 7-01
WT.440.400.001.UA.IM.1012
61

Table of Contents