EasyManua.ls Logo

Westerbeke 5.0KW BCD - Wiring Schematic #43783

Westerbeke 5.0KW BCD
61 pages
Print Icon
To Next Page IconTo Next Page
To Next Page IconTo Next Page
To Previous Page IconTo Previous Page
To Previous Page IconTo Previous Page
Loading...
-------------------------"-------------_
....
_-_._._---._-_.
__
._-.
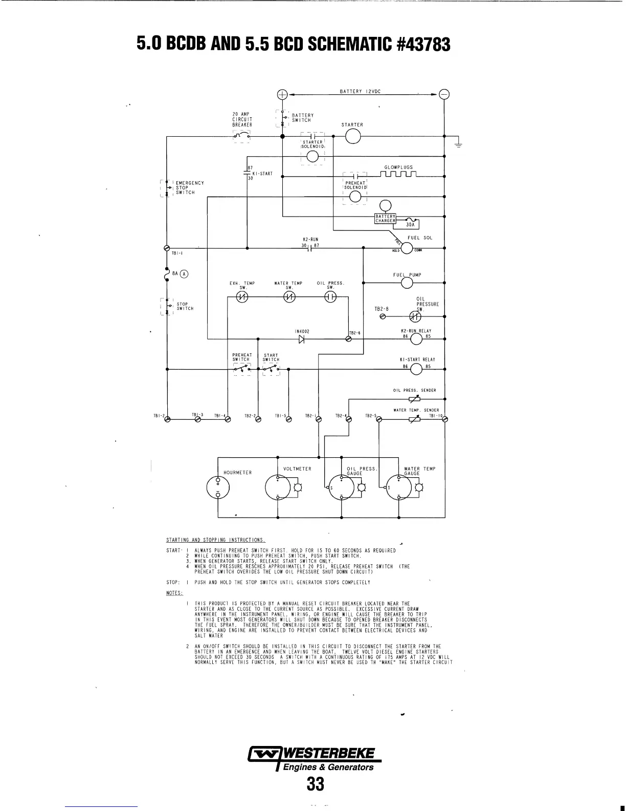
5.0
BCDB
AND
5.5
BCD
SCHEMATIC
#43783
T81-?
20
AMP
CIRCUIT
BREAKER
,
BATTERY
:
SWITCH
BATTERY
12VDC
STARTER
,--
_____
-,0"-
O;"--4--'--H--..--;
81
KI-START
30
GLOWPLUGS
t-----+--'--i
'f-l-----lUUl-f1
i
EMERGENCY
I
STOP
.ISWITCH
.
tORLEEHNElITD;
K2-RLIN
FUEL
SOL
30
81
'k,
TB
I
~
I
HOL~
FUEL
PUMP
EXH.
TEMP
WATER
TEMP
01
L
PRESS
SW. SW.
SW.
OIL
STOP
PRESSURE
SW
ITCH
TB2'8
W.
IN4002
TB2-6
PREHEAT
START
SW
ITCH
SW
ITCH
KI-START
RELAY
86
80
OIL
PRESS.
SENDER
WATER
TEMP.
SENDER
TBI·3
TBI-4
TB2-2
TBI-5
TB2-1
rB2-4
rB2-5
TBI-IO
STARTING
AND
STOPPING
INSTRUCTION5
START'
I
ALWAYS
PUSH
PREHEAT
SWilCH
FIRST.
HOL,
FOR
15
TO
60
SECONDS
AS
REQUIRE)
2
WHILE
CONTINUING
TO
PUSH
PREHEA1
SWITCH.
PUSH
START
SWITCH.
3.
WHEN
GENERATOR
SlARTS,
REIJASr
START
SWITCH
ONLL
4
WHEN
OIL
PRESSURE
RESCHES
APPROXII·CATELY
20
PSI,
RELEASE
PREHEAT
SWITCH
ITHE
PREHEAT
SWITCH
OVERIDES
THE
LOW
OIL
PRESSURE
SHUT
DOWN
CIRCUIT)
STOP:
PUSH
AND
HOLD
THE
STOP
SWITCH
UNTIL
GENERATOR
STOPS
COMPLEiELY
Nons:
IHIS
PRODun
IS
PROTECTED
BY
A
MANUAL
RESEI
(IHCUIT
BREAKER
LOCATED
NEAR
THE
STARTER
AND
AS
CLOSE
EO
Till
CURRENT
SOURCE
AS
POSSIBLE.
EXCESSIVE
CURRFNT
DRAW
ANYWHERE
IN
THE
INSTRUMENT
PANEl,
Wij"G,
OR
ENGINE
Will
CAUSE
THE
BREAKER
TO
TRIP
IN
THIS
EVENT
MOST
GENERATORS
WilL ,"UT
DOWN
BECAUSE
TO
OPENED
BREAKER
DISCONNECTS
THE
FUEL
SPRAY.
EHEREIORl
TilE
OWNLRliclllER
MUST
BE
SURE
THAT
THE
INSTRUMENT
PANEL.
WIRING,
AND
ENGINE
ARE
iNSTALLED
TO
PREVENT
CONTACT
BETWEEN
ELECTRICAL
DEVICES
AND
SALT
WATER
1
AN
ON/OFF
SWITe,
SHOULD
BE
l'jS·A._ED
!N
THIS
CIRCUIT
TO
DISCONNECT
THE
STARTER
FROM
THE
BAEERY
IN
AN
EMERGENCE
AND
WHEN
LEAVING
THE
BOAL
TWELVE
VOLT
DIESEL
ENGINE
STARTERS
S,OeLD
NOT
EXCEED
30
SECONDS
A
SWITCH
WITH
A
CONTINUOUS
RATING
OF
i75
AMPS
AT
11
VDC
WILL
NORMALLY
SERVE
THIS
FUNCTION,
BUT
A
SWITCH
MUST
NEVER
BE
_SED
TH
"MAKE"
THE
STARTER
CIRCUIT
Engines & Generators
33

Table of Contents

Related product manuals