EasyManua.ls Logo

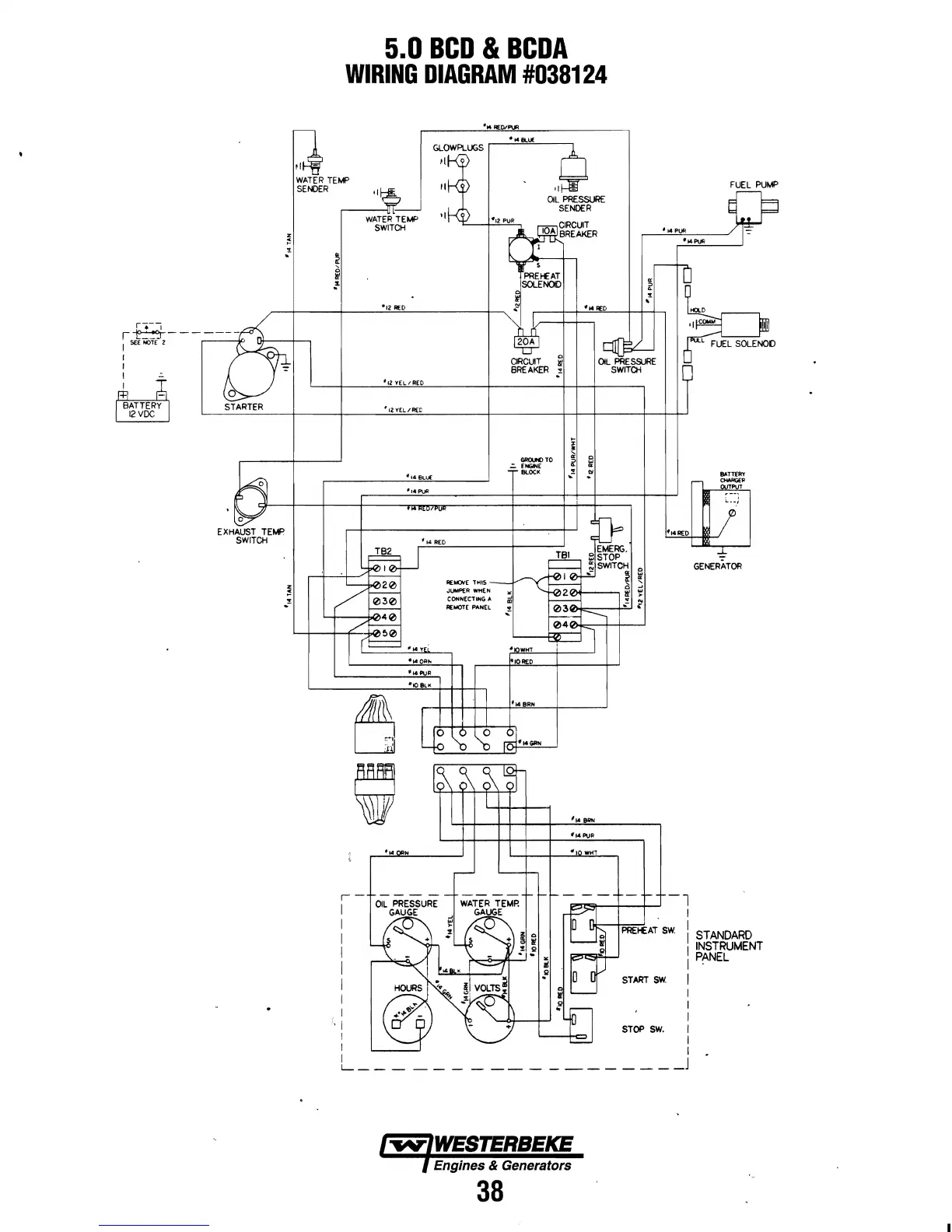
Westerbeke 5.0KW BCD - Wiring Diagram #038124

Westerbeke 5.0KW BCD
61 pages
Print Icon
To Next Page IconTo Next Page
To Next Page IconTo Next Page
To Previous Page IconTo Previous Page
To Previous Page IconTo Previous Page
Loading...
r.--I
i~
I
I
I
.:c
I
z
.~
r6
H
0
EXHAUST
TEMP
SWITCH
~
.-
5.0
BCD
&
BCDA
WIRING
DIAGRAM
#038124
14
RfDlPI.JR
·14
BlUE
GLOWPLUGS
'I~
"J
)~~
WATER
TEMP
,If-(
~
FUEL
PUMP
SENDER
'I~----.J
'Ik~
SENDER
WATER
TEMP
·12
PUR
.
~?IRCUIT
SWITCH
A
lOA
BREAKER
'I4P~
-::-
T~
-
..
PUll
-"i!""'.
,--
t
PREHEAT
~
SOLENOID
!
~
,
-12
RED
~
·14~D
HQD
~
20A
O~E
L FUEi:SOi:ENOO
Cf<CUlT
~
Ii
BREAKER
~
SWITCH
'l2
YELIAEO
#IZV(LI'REI:
i
GROlKlTO
~
Q
=-
ENGINE
It
SLoe,
~
..
8ATT£A'I'
'14
BLUE
.-
L[0
'14
PUR
'
..
"LO/PU'
,
i
IA
RED
~U
,..l§L
EMERG.
eSTOP
j:0i0
~
SWITCH
GENERATOR
.
~
~
..
- i
?~
R[M:YItE
THtS_
~
a
JUMPER WHEN
:ro:
~
0:30
CONNECTING
It
m
I---
/2
REMOTE
PANEL
.
03
.-
..
f-----
---
04
I
r~
-14
YEL
'!OWHT
~
-"OR""
10
REO
'I4PuJl
"10
ell(
fl4BRN
~
'0
~
~'''GRN
;
'" .
,-
----
I
I
I
I
I
I
I
I
I
I
I
I
L
_________
_
'14
PUR
"1
WI"!"!
-l
~5t--t--t-'
I
PREHEAT
SW
:
I
I
START
SW
I
I
I
I
STOP
SW.
I
I
I
________
J
Engines & Generators
38
STANDARD
INSTRUMENT
PANEL

Table of Contents

Related product manuals