EasyManua.ls Logo

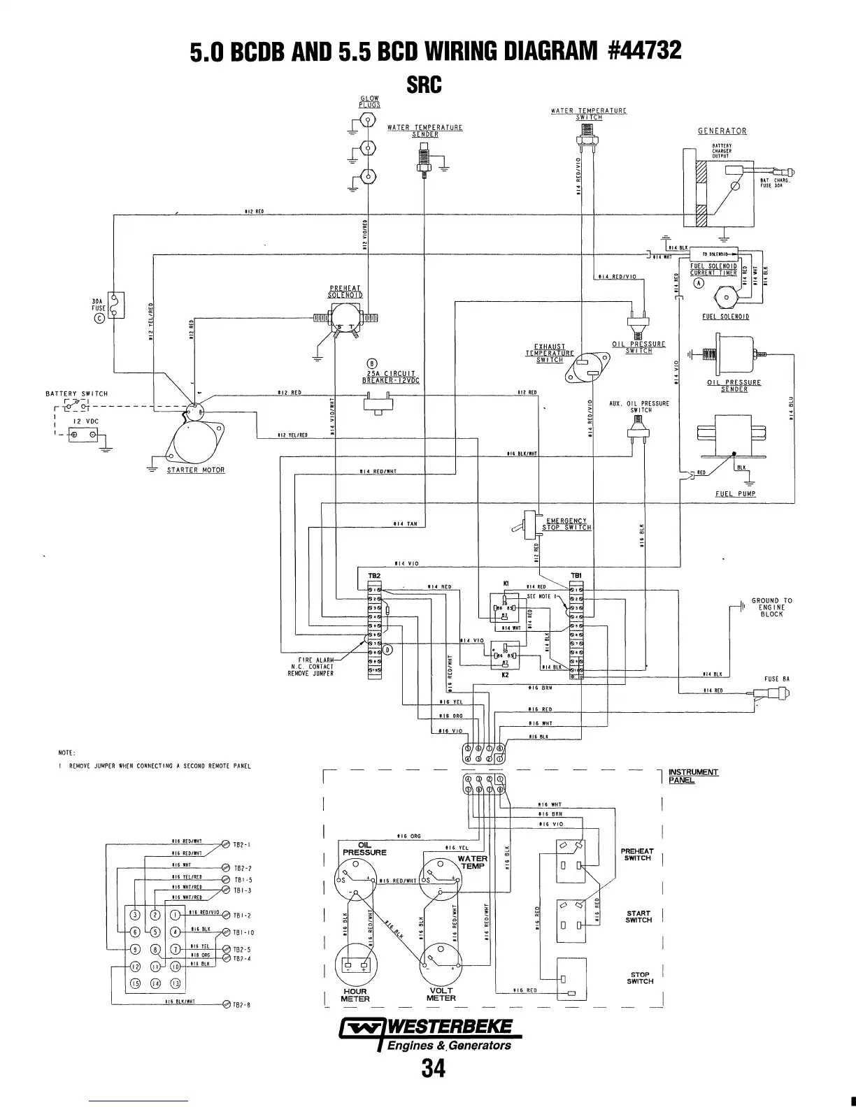
Westerbeke 5.0KW BCD - Wiring Diagram #44732

Westerbeke 5.0KW BCD
61 pages
Print Icon
To Next Page IconTo Next Page
To Next Page IconTo Next Page
To Previous Page IconTo Previous Page
To Previous Page IconTo Previous Page
Loading...
5.0
BCDB
AND
5.5
BCD
WIRING
DIAGRAM
#44732
SRC
WATER
TEMPERATURE
30A
~
FUSE
CD
.EJill:!.ill
~
=',----~--------Il-mrrmFlJlllmQ~D
- !
CD
WATER
TEMPERATURE
SENDER
EXHAUST
TE
MPEifi\fIT
R E
SW
ITCH
""
. 25A
CIRCUIT
BATTERY
SWITCH
"",-
'"
RED
BREAK~R-12VDC
111
RED
r
~~
- - - - -
--
-:t1-
-
_~~--------'-'~---;:j-----:lLo~JJ::---+---+-~
o
:-il
v~
0 1 II1Y[erRED
tl6
BtK/WHT
-::-
STAR~
MOTOR
114
REDfWHT
SW
ITCH
!b
,,14
TAN
EMERGENCY
STOP
SWITCH
NOT[:
I
REMOn
JlJMPER
WHEN
CONNECTING
A
SECOND
REMOTE
PANEL
116 REI)!I!!l
r82-1
116R[DIrIlT
fl6
WHT
TB1-l
Iii
HlfRtD
TBI
·5
T81-3
f51-2
Te
1-10
TB1·5
Ta?
-.I
fBl-B
HOUR
METER
114
VIO
116
YEL
116
flED
#16
ORG
#16,nn
Jl611lK
tiS
WHT
0
.
.
0
.
0
-
VOLT
METER
'--_-""-""-"'''''''"_-1-=
Engines &, Generators
34
o
GENERATOR
~~TtEAY
CH~RGER
ounuT
8ATCHAA~
ruSE
31)A
-J.I'''1I1~
rosOlrlt\l~
....
ux.
OIL
PRESSURE
SWITCH
fUEL
SOLENOID
~
~
:
C0£N@~
fUEL
SOL£NOID
Oil
PRESSURE
SENOER
GROUND
TO
rill
ENG
I
NE
BLOCK
rUSE
SA
tl4UD
,......
l
INSTRUMENT
PANEL.
PREHEAT
SWITCH
START
SWITCH
STOP
I
SWITCH
I

Table of Contents

Related product manuals