EasyManua.ls Logo

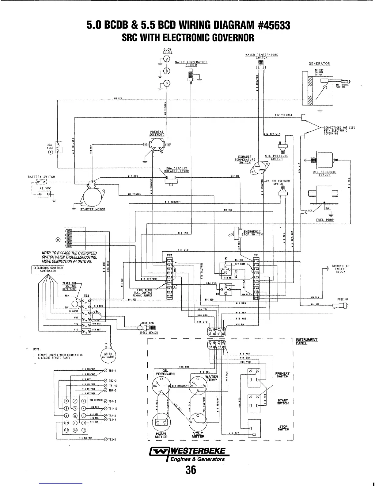
Westerbeke 5.0KW BCD - Wiring Diagram #45633

Westerbeke 5.0KW BCD
61 pages
Print Icon
To Next Page IconTo Next Page
To Next Page IconTo Next Page
To Previous Page IconTo Previous Page
To Previous Page IconTo Previous Page
Loading...
5.0
BCDB
&
5.5
BCD
WIRING
DIAGRAM
#45633
SRC
WITH
ELECTRONIC
GOVERNOR
lOA,
~D
rUSE
0)
BA:T1?;rI~~
- - -
--
-
Z)-
--
L/
f
L.::
__
I
~
:_42
v~
0
~
STARTER
.MOTOR
NOTE:
TO
BY-PASS
THE
OVERSPEED
SWITCH
WHEN
TROUBLESHOOnNG,
MOVE
CONNECnON
#4
ONTO
#5.
'llU1l
I
WATER
TEMPERATURE
ll!!1illl
mmfRED
116
RED/WfH
WAUR
TEMPERATURE
SW
ITCH
~!~
m
YH/REO
"14
REDIV
10
..
"."..'~,,",:M:
IEMPtRAtUR
E
w.KU
SWITCH
0
~
tl2
~ED
r-----~----------------r_------~----~"~.~"~'--_r----.-----~
t I
~
TAN
Jl"'~
&[J~
STOP
SW
ITCH
fl4
VIO
---
.
---
---
l
NOTE:
I
REMOVE
JUMPER
WREN
CONNECT
I
NG
A
SECO'O
REVOTE
p,m.
SPEED
ACTUATOR
.-----------'-''''-,
""!!.!,,..,'HC!.'
-.,9)
T8281
'I~
RU/lI'Hl
,--+-----'''-''''----e
TB1'1
~l----...1!.L!Jlli!"--_-A
TB
H
r--'''-'O!.!.-''''--cM
TO
,.
3
).+..!!!..ill+-A
TB2·
5
,+-:::-+=-""'-+-<:6
TBH
tl6
ORG
all..
PRESSURE
til
YEI..
VOI..T
ME:TER
!
.
Engines & Generators
36
fIG
WfIT
tl6
BIlN
""
VIO
0
.
0
#16
flED
PREHEAT
SWfTCH
START
SWITCH
STOP
SWITCH
I
.-
GENERATOR
BATTEH
tllARGU
OUTPUT
~l
1.u.C~
ruSE
lOA
~
J.
ONNECT10HS
HOi
USED
WITH
HECiROH!C
GOVERN
I
NG
OIL
PRESSURE
SENDER
,1
1
GREO~GNIDNETO
BLOCK
FUS[
8A
INSTRUMENT
PANEL

Table of Contents

Related product manuals