EasyManua.ls Logo

Westerbeke 5.0KW BCD - Remote Panel Wiring Diagram

Westerbeke 5.0KW BCD
61 pages
Print Icon
To Next Page IconTo Next Page
To Next Page IconTo Next Page
To Previous Page IconTo Previous Page
To Previous Page IconTo Previous Page
Loading...
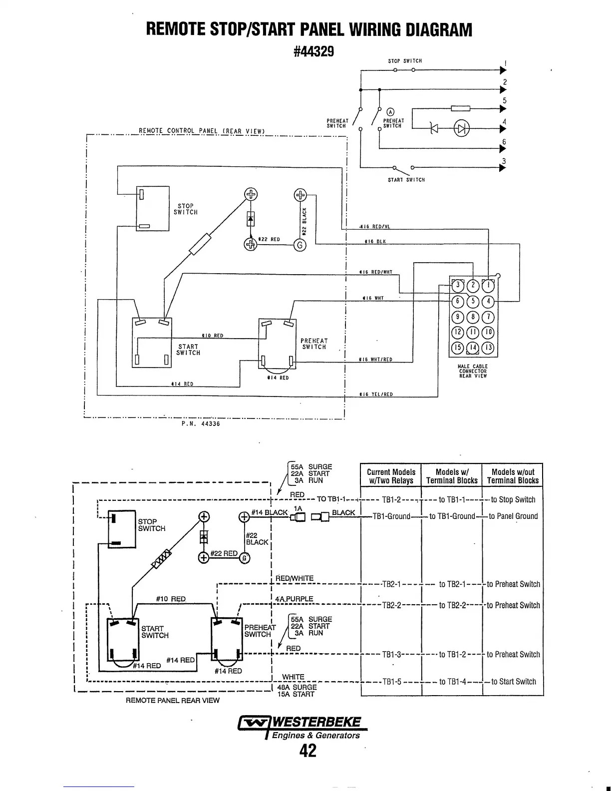
REMOTE
STOP/START
PANEL
WIRING
DIAGRAM
#44329
STOP
SWI
TCH
I
~----~--------------~~~
I
STOP
SWITCH
.416
RED/VL
~
16
6LH
I
416
RED/WIIT
I
416
WilT
000
flO
RED
@®@
PREHEAT
@~@
START
SWI
TCH
. i
SWITCH
0
11&
WilT
IRED
MALE
CABLE
CONNECTOR
t
14
RED
REAR
VIEW
414
RED
«16 yEt/RED
I :
: -
I
'--
,._
..
_
..
_
..
_
..
-"-"--"-"'-"-"-"-"-"-"-
..
_
..
-.
P.N.
44336
J1rA
SURGE
Current
Models Models
wI
Models
w/out
,
_____
~
___
--
_
--
______
-:
I~:
~~~RT
w[fwo
Relays
Terminal
Blocks
Terminal
Blocks
I
r-----·---------------·-------------l----~~---
TOTB1-1_--;_\
____
1B1-2---"'1---
to
TB1-'----I-·
to
Stop
Switch
I)
L + #14 BLACK
cO
~
BLACK
TB1-Ground--to
TB1-Ground--.
to
Panel
Ground
STOP
I
~~
I
#22 I
I BLACK I
I
+#22REDG
I
I . I
I I
RED{WHITE
I
,-----
____
.1-.
--
------
-----
-----TB2-1--
-
---
to
TB2-1----to
Preheat
Switch
I
1110
RI;D.
I : 4APURPLE
I I
1
/-----1------------
------------
TB2-2-------
to
TB2-2---~-to
Preheat
Switch
I I
PREHJT
~5~
~¥Xkc;.E
I
SWITCH
3A
RUN
I I
RED
I
#14
RED
------t----
--------
--
-
---,---
TB~-3---
-,----
to
1B1-2
---,-
to
Preheat
Switch
I #14
RED
I
I[
L--·------------~--------------------+4~.!:it,1fRGE-
------j---
TBl-5
---T--
to
TB1-4---,-to
Start
Switch
-------------------
15ASTART I I
REMOTE
PANEL
REAR
VIEW
Engines & Generators
42

Table of Contents

Related product manuals